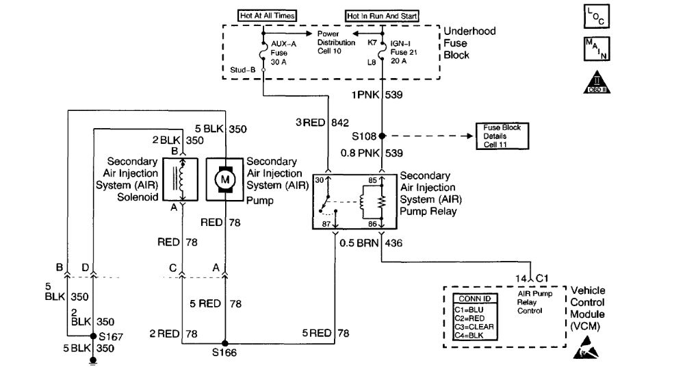
42 2001 chevy s10 secondary air injection system diagram
P0410: Secondary Air Injection System → Malfunction . The secondary air injection system injects air into the exhaust to help lower emissions. Most of the time, P0410 is going to be caused by a failure in this pump or the one way check valve. But there can be other reasons the code is thrown as well. P0410 Symptoms: Chevy S10. Nearly all of ... 9 Feb 2017 — I checked all emission hoses and found that the long rubber hose at the electric secondary air injection pump was connected and in place, but ...
29 Apr 2012 — See TEST DRIVE RELEARN PROCEDURE . 5. Using DVOM check resistance of Secondary Air Pump Motor (V101) wiring. See appropriate WIRING DIAGRAM ...
2001 chevy s10 secondary air injection system diagram
It is a system of tubes and pump best bet is diagrams which i cant post here so suggest chilton or hayes repair manual 30. July 6 2016. It is commonly referred to as the air pump. As we have a look at this 2000 chevrolet s 10 with a code p0410 secondary air injection reactor system. Shown is a 2001 chevy s10. 1999-2001 Oldsmobile Bravada with 2.2L or 4.3L Engine (VINs 4, H, 5, W -- RPOs LN2, L43, L35) Condition Some owners may comment on the check engine light being illuminated. Upon investigation, the technician may find a DTC P0410 indicating that there is a concern in the secondary air injection system. Cause 27 2001 Chevy S10 Secondary Air Injection System Diagram. On a 2001 chevy s1o blazer43 engine what is the secondary air injection system what does it do and where is it located it injects air into the exhaust to reduce emissions burn off carbon monoxide and hydrocarbons. 1999 2003 chevrolet blazer s10 1999 2001 gmc jimmy 1999 2003 gmc sonoma.
2001 chevy s10 secondary air injection system diagram. 2001 chevy s10 secondary air injection system diagram. Come along with eric o. July 4 2016. There is a fuse iam sure but i cannot find one that is bad. As we have a look at this 2000 chevrolet s 10 with a code p0410 secondary air injection reactor system. Code p0410 secondary air system. By continuing to use this site you consent to the use of ... 2001 CHEVY S10 CODE PO410 SECONDARY AIR INJECTIO SYSTEM IDO I FIX - Answered by a verified Chevy Mechanic We use cookies to give you the best possible experience on our website. By continuing to use this site you consent to the use of cookies on your device as described in our cookie policy unless you have disabled them. Shown is a 2001 chevy s10. As we have a look at this 2000 chevrolet s 10 with a code p0410 secondary air injection reactor system. It is a system of tubes and pump best bet is diagrams which i cant post here so suggest chilton or hayes repair manual 30. 6 Oct 2008 — I am looking to buy a 2001 S10 but when I was looking under the hood I noticed that a hose from the secondary air pump was not hooked to ...
SOURCE: secondry air injection system malfunction. Hi. I'm reading your request. Your S10 . has a small fuse box Next to the battery. 26 Aug 2018 — P0410 set replace air pump and inlet hose assembly nov 28 2006. On a 2001 chevy s1o blazer43 engine what is the secondary air injection ... 2001 Chevy S10 Secondary Air Injection System Diagram. Written By Rosalina Amelia Wulandari Wednesday, January 25, 2017. Edit. Code p0410 secondary air system. I need to smog test my truck but in caliornia all monitors must be ready to pass. P0411 Code Secondary Air Flow Secondary Air Injection Valve. Hose to secondary air injection pump has come loose. Don't know where to reconnect it on the engine. Has two hoses, - Chevrolet 2001 S-10 question.
Basically the secondary Air Injection Reactor system (AIR) forces frech air into the exhaust system to reduce HC and CO emissions. Thats why your failing its ... 2001 chevy s10 secondary air injection system diagram. 99 01 blazers with the 43l motor and 00 03 22l motors have the secondary air injection system and ive listed the codes part s circuit description and have to fix below. Trailblazers colorado astrovans 2001 s10 readiness monitors problem fusionbb version 21 2003. On a 2001 chevy s1o blazer,4.3 engine, what is the secondary air injection system, what does it do, and where is it located it injects air into the exhaust to reduce emissions, burn off carbon monoxide and hydrocarbons. it is a system of tubes and pump, best bet is diagrams, which i cant post here, so suggest chilton or hayes repair manual $30 ... 27 2001 Chevy S10 Secondary Air Injection System Diagram. On a 2001 chevy s1o blazer43 engine what is the secondary air injection system what does it do and where is it located it injects air into the exhaust to reduce emissions burn off carbon monoxide and hydrocarbons. 1999 2003 chevrolet blazer s10 1999 2001 gmc jimmy 1999 2003 gmc sonoma.
1999-2001 Oldsmobile Bravada with 2.2L or 4.3L Engine (VINs 4, H, 5, W -- RPOs LN2, L43, L35) Condition Some owners may comment on the check engine light being illuminated. Upon investigation, the technician may find a DTC P0410 indicating that there is a concern in the secondary air injection system. Cause
It is a system of tubes and pump best bet is diagrams which i cant post here so suggest chilton or hayes repair manual 30. July 6 2016. It is commonly referred to as the air pump. As we have a look at this 2000 chevrolet s 10 with a code p0410 secondary air injection reactor system. Shown is a 2001 chevy s10.

Vw New Beetle 2001 2 0 L Engine 85 Kw Motronic Engine Codes Aqy Wiring Diagrams Pin Connector Location Wiring Diagrams For Cars

How Do I Replace The Secondary Air Injection Pump On An 01 Blazer Zr2 Where Is It Located What Parts Do I Need

Emission Systems Car Truck Parts Secondary Air Injection Pump For 07 10 Chevrolet Impala 07 Monte Carlo 3 5l V6
0 Response to "42 2001 chevy s10 secondary air injection system diagram"
Post a Comment