42 chevy cobalt fuel line diagram
We've detected some suspicious activity coming from your IP address and have temporarily blocked it as a security precaution. Please check the box to let us know you're human (sorry, no robots allowed) Hey everyone, so I recently bought a 1990 300zx and I am having an issue with a fuel leak! I was able to locate where it was and why it was happening and it was just rusted out fuel hardlines that had holes. The lines are located near the driver side rear wheel. The seem to come from above the fuel tank, down, and then they head towards the front of the car. I am trying to access the entire line to replace it but just can’t find where it goes. There are 3 lines in total all next to each other. I...
The Chevrolet Volt is a plug-in hybrid manufactured by General Motors, also marketed in rebadged variants as the Holden Volt in Australia and New Zealand, Buick Velite 5 in China, and with a different fascia as the Vauxhall Ampera in the United Kingdom and as the Opel Ampera in the remainder of Europe.

Chevy cobalt fuel line diagram
Get Your Chevrolet Cobalt Fuel Filter and Fuel Line from AutoZone.com. We provide the right products at the right prices. The Chevy II was introduced in the 1962 model year and quickly became one of the most popular models, with many trim levels and engines available. The RWD Chevy II/ Nova ended in 1979 straight 6 swap to a 350 I had a leak in my fuel line and towed my car to the repair shop. They came back with an estimate of $900 to fix the fuel line, evaporative line and fuel filter. It includes $400 for labor and the rest for parts. Does this sound reasonable?
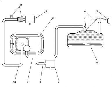
Chevy cobalt fuel line diagram. Nov 18, 2015 · A wiring diagram from All Data DIY for your vehicle will be helpful. Purge Valve Check – The easiest way to check for a stuck-open purge valve is to disconnect the EVAP hose while the engine is running. There may be more than one line connected to the purge valve, depending on if the valve is connected directly to the intake manifold or not. The Chevrolet Corvair is a compact car manufactured by Chevrolet for model years 1960–1969 in two generations. It remains the only American-designed, mass-produced passenger car with a rear-mounted, air-cooled engine. We've detected some suspicious activity coming from your IP address and have temporarily blocked it as a security precaution. Please check the box to let us know you're human (sorry, no robots allowed) My 09 Chevy Cobalt was leaking fuel from the fuel line. The shop replaced the feed and return line and put in a new fuel filter. About 4 days later I started getting a check gas cap warning(the cap's on and tight) and the check engine light came on. Googling the gas cap warning says it has to do with the fuel system not being properly sealed. I can't help but think this is related to the work I had done. Could it be? If so, should I be asking them to fix whatever it is under the cost of the or...
LinesToGo offers replacement fuel lines for 2005, 2006, 2007, 2008, 2009, and 2010 models. Find the right fuel lines for your Cobalt now! Chevy Cobalt fuel lines have engine to hose connection off the fuel tank. Set includes: 1 supply line 3/8", 1 vapor line 3/8", hose to engine connection, ... **** If you want to replace the entire fuel and vent line from the filter / canister to the motor see our listing Part # FL-FG1214-360 · Fits 2005-2010 Chevy Cobalt And yes, I know the Cobalt SS, Cobalt PARTIAL ZERO EMISSION VEHICLE, with California emissions does not have a filter and no ... Hey y'all, So I am the unfortunate owner of a Chevy HHR and I've gotten the fuel line leak, leaking gas on my drivers side. I got the car out if serious need and have put a lot of work into it since it was my only option and I can't afford a new one. I am in need of a fuel line replacement as I believe its rusted due to poor design. Any advice? I am trying to sell it so I can pay my rent- as I needed it to earn $$ from deliveries. I've learned my lesson and that's going to be avoid GM, and ... Available in Steel or Stainless Steel. Our Tank to engine Fuel Lines run from the back of the vehicle to the front. They will either connect to the fuel pump at the motor or run directly to a fuel rail.
Jul 22, 2018 · Wiring Schematic For 2002 Gauge Cluster Ls1tech Camaro And 03 06 Gm Truck Pinouts 92224 Gm Gauge Cluster Wiring Diagram Digital Resources B1c2d Chevy Instrument ... BMW 118i E87 ANDROID HEADUNIT UPGRADE This is a two-part DIY series on how to upgrade the OEM stereo of a 2006 #BMW 118i #E87 model to an Android-based … Introduced in lead adju i’ve done zero work on cars, and i cant find an affordable mechanic nearby. would it be realistic for me to do this myself? Every once in awhile, when I press on the gas after coming to a complete stop at a red light/stop sign/turn, the car just dies. The lights are still on and the radio works and everything, but nothing happens when I press on the gas. I've also noticed its a bit slower to get started than it used to be. As in, before, I could hit the gas and speed up pretty quickly, but now when I press on the gas there seems to be a bit of a pause and then it takes longer to get up to speed. I've been told this...
Hello! 1981 toyota hilux, 22r 5spd- I'm looking for a diagram of the fuel lines. The Haines manual doesn't seem to include one, and I'm worried that I got the rubber lines mixed up while changing them out. Does anyone have a link? I'm not getting fuel to the carb, or even to the fuel filter, and I'm trying to find everything possible before the garage gets it on monday.
Central Park West Hostel New York Updated Price Reviews Hd Photos Hotels Com Central Park West Hostel C 84 C 1 2 2 5 New York Hotel Deals...
Nov 16, 2020 - Looking for information about Chevy Cobalt Fuel System Diagram? you are right here. You could be a service technician who wishes to try to find references or address existing troubles. Or you are a trainee, or maybe even you who simply want to know regarding Chevy Cobalt Fuel ...
2010 Chevy Cobalt fuel lines for 2.0L located from an engine to hose connection off the fuel tank. Set includes 1 supply line 3/8", 1 vapor line 3/8", hose to engine connection, nylon lines with unions, and 6 unions.
HOW TO EVOLVE EVERY LOOMIAN IN THE *NEW* ROUTE 8 and UMV UPDATE! | Loomian Legacy This is how you EVOLVE EVERY NEW LOOMIAN FROM THE ROUTE 8/UMV UPDATE! LIKE and SUBSCRIBE ?? if yo
I’ve been having low power issues, and have narrowed it down to a few things. I’ve been poking around on the internet trying to find a diagram but I can’t seem to find one. 2.2 L ecotech Thanks for the help! Also, if anyone has other suggestions as to what the low power would be caused by, that’d be awesome!
September 3, 2017 - Hello all - new here. We recently got my wife a new car and I've got her old Cobalt as my commuter car - all seemed well until last week when I started to smell fuel. I see a leak in the fuel line at the retainer clip by the rear drivers wheel. Dropped it off at the local shop just to see...
Click to get the latest Buzzing content. Take A Sneak Peak At The Movies Coming Out This Week (8/12) Minneapolis-St. Paul Movie Theaters: A Complete Guide
The Jeep Grand Cherokee WJ Is a VERY Cheap Used 4×4, But Is It Crap? Here's What To Look Out Fo… ( https://tflcar.com/ ) The second-generation grand cherokee (WJ ...
2010 Chevy Cobalt fuel lines for 2.0L, 2.2L, and 2.4L located from an engine to hose connection off the fuel tank. Set includes 1 supply line 3/8", 1 vapor line 3/8", hose to engine connection, nylon lines with unions, and 6 unions.
May 22, 2014 - looks like i have regular fuel line and regular clamps. i'll go back to napa and exchange everything tomorrow
**** If you want to replace the entire fuel and vent line from the filter / canister to the motor see our listing Part # FL-FG1214-360 · Fits 2005-2010 Chevy Cobalt And yes, I know the Cobalt SS, Cobalt PARTIAL ZERO EMISSION VEHICLE, with California emissions does not have a filter and no ...
My fuel lines are busted and I want to replace my self was wondering if I need to get originals lines or is there a different type I could get ?
March 25, 2018 - Having some leaking in both lines where it bends to go up over the back axle and was wanting to replace both complete lines. Genuine parts are...
2006 Chevy Cobalt fuel lines for 2.2L located from an engine to hose connection off the fuel tank. Set includes 1 supply line 3/8", 1 vapor line 3/8", hose to engine connection, nylon lines with unions, and 6 unions.
I changed the fuel line . Don't think gas is running through it. Do I have to bleed them or something . If so could someone tell me how
Equip cars, trucks & SUVs with 2010 Chevrolet Cobalt Fuel Filter and Fuel Line from AutoZone. Get Yours Today! We have the best products at the right price.
January 15, 2014 - I have a 2006 Chevy Cobalt with the same fuel line leak behind driver's side door. This develped overnight. I decided not to waste time driving a potential fire bomb as gas was dripping quickly. I will report this to our lazy government. Why must someone be killed, hurt or maimed (if this hasn't ...
1 day ago · M62 pcv system. Download Free M62 Engine Diagram meeknet The M62 engine series replaces the M60 engine The M62 engine is a consistent further development of the BMW V-8 cylinder engine series introduced in 1992 As of 1/96 it will be installed M57 pcv valve This has always been known as a PCV system (Positive Crankcase Ventilation) but BMW has several other names for it - oil separator ...
Running A Volvo 220G Wheel Loader Helping Letsdig18 Running a Volvo 220G wheel loader helping Letsdig18 on the mile long ditch job. We got back the next morning and I finished up
The fuel lines for this damn thing cost almost as much as the damn clutch did. Fuel is leaking from either a part of the line, or where the line connects to the tank. I can't afford to buy the lines. And repair kits are still super steeply priced. The gas is coming from the end of the line before it goes up where I can't see or feel. What patching thing would survive gas? Silicon? A specific epoxy mix? Heat shrink? Hot glue? My "mechanic" (a dude I know who is a VERY good mechanic, not hired) s...
CAM and CRK & Wiring Diagrams CAM and CRK & Wiring Diagrams Amazon Printed Books https://www.createspace.com/3623928 Amazon Kindle Edition … Engine burned at air ...
I had a leak in my fuel line and towed my car to the repair shop. They came back with an estimate of $900 to fix the fuel line, evaporative line and fuel filter. It includes $400 for labor and the rest for parts. Does this sound reasonable?
The Chevy II was introduced in the 1962 model year and quickly became one of the most popular models, with many trim levels and engines available. The RWD Chevy II/ Nova ended in 1979 straight 6 swap to a 350
Get Your Chevrolet Cobalt Fuel Filter and Fuel Line from AutoZone.com. We provide the right products at the right prices.
0 Response to "42 chevy cobalt fuel line diagram"
Post a Comment