Iklan 300x250

41 john deere 111 belt diagram

How to Change the Belt on a John Deere L111 | eHow When you engage your mower deck on your John Deere L111 you should expect to hear a short squealing sound as the drive belt grips the pulleys on the engine and mower deck. However, if while mowing, you continue to hear this squealing, you must replace the drive belt as it has worn out and is now in danger of breaking. How to Change the Belt on a John Deere L111 - YouTube How to Change the Belt on a John Deere L111. When you engage your mower deck on your John Deere L111 you should expect to hear a short squealing sound as the...

John Deere L111 (42" Deck) Riding Lawn Mower ... - V-Belt Guys John Deere L111 (42" Deck) Riding Lawn Mower Replacement Belt Original Equipment Manufacturer John Deere OEM Part Number GY20570 Machine Riding Lawn Mower Model L111 (42" Deck) Belt Type 4LK/AK Aramid VBG Replacement Id APPL672692 Technical Specifications: (Inches) (mm) Outside Circumference 104.00 2641.60 Top Width 0.50 12.70 Belt Depth 0.3125

John deere 111 belt diagram

John deere 111 belt diagram

John Deere 111 Parts Diagram - Automotive Parts Diagram Images Description: Wiring Diagram For A 11 Hp Model 111 John Deere Lawn Mower regarding John Deere 111 Parts Diagram, image size 998 X 753 px, and to view image details please click the image.. Truly, we also have been realized that john deere 111 parts diagram is being just about the most popular topic at this time. So that we tried to locate some terrific john deere 111 parts diagram graphic for you. John Deere Parts Diagrams, John Deere L111 Lawn Tractor ... John Deere PARTS LOOKUP John Deere Parts Diagrams, John Deere L111 Lawn Tractor (With 42-IN Mower Deck) Material Collection System -PC9458 Air Filter & Fuel Pump ENGINE MARKED 406577-0139-E1: FUEL AND AIR John Deere 111 | Tech Support Forum Joined Jun 26, 2002. ·. 2,741 Posts. Discussion Starter · #1 · Mar 1, 2009. Hi, I'm working on getting an old John Deere 111 working again. I have no idea what is / was wrong with it. Right now it only seems to be missing a battery and the ignition key part. So I was wondering if for testing purposes, can I just use a car battery, and also ...

John deere 111 belt diagram. John Deere 111 lawnmower drive belt diagram? - Answers need diagram for transition drive belt for John Deere L110 automatic How old is an R72 John Deere Lawnmower? The R72 John Deere Lawnmower was built in 1976,therefore it is 36 years old Amazon.com: john deere l111 belt 42" Lawn Mower Deck Rebuild Kit Compatible with John Deere Models L100 L108 L110 L111 L118 Compatible with GY20995 Includes (2) Spindles GY20050, (1) Deck Belt GX20072, (2) Mulching Blades GX20249. 4.9 out of 5 stars. 21. 112L belt diagram - Lawn Mower Forum Got a 1985 112L i need the drive belt diagram. Looked here on the forum and have't found one yet. Can anyone help me out. R. Rivets Lawn Royalty. Joined Mar 11, 2012 Threads 49 Messages 11,886. Apr 25, 2012 #2 Try this web site. Good luck. John Deere Mower Belt Diagram - Bing Images ... Belt Diagram For Mowing Deck - Yesterday's Tractors for John ... That impression (Belt Diagram For Mowing Deck – Yesterday's Tractors for John Deere L111 Parts Diagram) over will be branded using: john deere l111 parts diagram, john deere l111 parts list, john deere l111 parts manual, . submitted by means of CARPNY TEAM at August, 1 2016.

John Deere L111 Lawn Tractor Parts - Quick Parts Reference ... These John Deere Lawn Tractor Parts may include: Tune Up Kit, Spark Plug, Mower Blades, Traction Drive Belt, Transmission Belt, Mower Drive Belt, Battery, and Air Filters. If you need help finding John Deere Lawn Tractor Parts Search Using Weingartz Illustrated Diagrams to view an illustrated diagram or call us at 1-855-669-7278. John Deere Parts Diagrams, John Deere 111 Hydrostatic Lawn ... John Deere Parts Diagrams, John Deere 111 Hydrostatic Lawn Tractor -PC1699. Actuator,PTO Cam Arm,Drive Sheave & Belt 108 and 111 - 120000: POWER TRAIN,STEERING AND BRAKES MIA10320. AIR CLEANER: Engine,Lawn Tractor 108 AM100247. John Deere 111 lawn tractor: review and specs - Tractor Specs The John Deere 111 is a 2WD lawn tractor from the 100 Lawn series. This tractor was manufactured by the John Deere in Horicon, Wisconsin, USA from 1979 to 1985. The John Deere 111 riding mower is equipped with a 0.4 L single-cylinder gasoline engine and Belt-driven gear transmission with 5 forward and 1 reverse gear. John Deere L111 Lawn Tractor Maintenance Guide & Parts List Service Schedule Parts for a John Deere L111 Lawn Tractor & Parts List. While your John Deere machine is certainly built with quality parts, they have a limited life. Good news is you can easily service your machine yourself using a John Deere maintenance kit or service kits or by getting the specific John Deere part needed to keep your John Deere mower or tractor running for a long time.

belt diagram for john deere 111 - TractorByNet Aug 05, 2013 · 4. Location. canning N.S. Tractor. john deere m00111h291643. No this belt just runs the side pulley with fan attached to it on the rear end. Aug 5, 2013 #4. How to change the main transmission belt/drive belt on a ... I simplify the task of changing the main drive belt on a John Deere tractor/transmission belt on a John Deere tractor.The particular tractor is how to change... John deere 111 | Hobbyist Forums - HobbyTalk I put more info into post--6/18/09-John deere 111, 1976-1986,I think,older model,has john deere badge on front -metal- drive belt-from engine to rear end-belt keeps coming off pulleys.-pulleys free-any info. appreciated, this is a yellow deck-M00111s-306035- this belt is not on the deck,oil... PDF John Deere Lawn Garden Tractor Parts Manual - Jensales We have quality tractor parts (clutches, engine parts, air conditioning parts, seats and cab interiors, front axle and rear axle parts, decals, gauges, sheet metal, steering wheels, emblems, and much more!) Tractor videos, tractor shirts, and even tractor gifts as well. From restoration to repair. Let us help you get your machine back to work.

John Deere L111 Lawn Tractor (With 42-IN Mower Deck) Material ...

John Deere L111 Lawn Tractor (With 42-IN Mower Deck) Material ...

Amazon.com: john deere 111 drive belt RINGMASH (New fits Compatible with John Deere 108 111 112L 130 160 165 170 175 PTO Mower Drive Belt M77988 38" fits Deck, 111 W 30" & 38" Deck, 111H W 30" & 38" Deck, 112L W 30" & 38" 4.6 out of 5 stars 3

1974 110 Belt Routing | Green Tractor Talk

1974 110 Belt Routing | Green Tractor Talk

John Deere 111 Lawn Tractor Parts - Mutton Power John Deere 111 Parts. The 111 Riding Lawn Tractor was produced from 1979-1985 as part of the 100 Lawn. Standard features included an 11 HP Briggs & Stratton engine, 5 speed gear transmission, independent front PTO, and a 38" mid mount mower deck. Popular attachments include snow blower and front blade.

Belt placement illustration lawn mower deck?

Belt placement illustration lawn mower deck?

JD 111 and Help attaching a snow blower I have a John Deere 111 Lawn tractor my father gave me. I used it mainly for lawn work. Last winter I bought a snow blower off of e-bay with a model that was reported to fit my tractor. Sure enough it DID fit my tractor, but I am having a few nagging problems with the belt attachment. I figured out the crazy way the belt attaches to the PTO.

John Deere 111 w/snow blower

John Deere 111 w/snow blower

42-inch Mower Deck Parts for L111 - GreenPartStore John Deere 42-inch Mower Deck Drive Belt and Idler Kit - GX20072KIT1. (58) $66.33. Usually available. Add to Cart. Quick View.

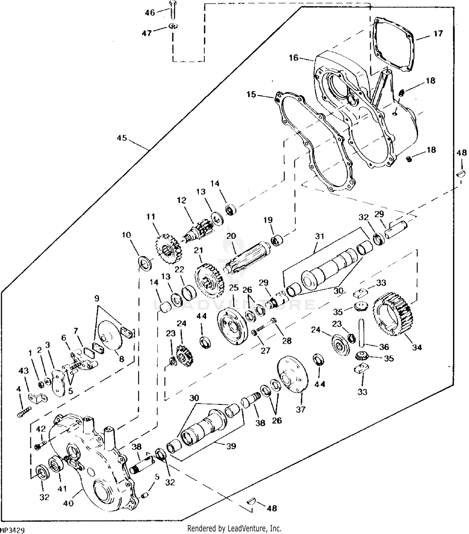
John Deere 111 Hydrostatic Lawn Tractor -PC1699 JACKSHEAVE ...

John Deere 111 Hydrostatic Lawn Tractor -PC1699 JACKSHEAVE ...

John Deere 111 Mower Belt Diagram - Ask Me Help Desk Sep 02, 2009 · John Deere 111 Mower Belt Diagram. I have a John Deere model 111 riding mower mid 80's with a 38" cut. Looking for a diagram to replace the blade to blade deck belt. PhilFrey. View Public Profile.

John Deere 108 & 111 Lawn Tractor -PC1699 HI-PERFORMANCE ...

John Deere 108 & 111 Lawn Tractor -PC1699 HI-PERFORMANCE ...

John Deere 111H Lawn Tractor Parts - Mutton Power John Deere 111H Parts. The 111H Riding Lawn Tractor was produced from 1982-1984 as part of the 100 Lawn Series. Standard features included an 11 HP Briggs & Stratton engine, hydrostatic transmission, independent front PTO, and a 38" mid mount mower deck.

John Deere 111 Hydrostatic Lawn Tractor -PC1699 GOVERNOR ...

John Deere 111 Hydrostatic Lawn Tractor -PC1699 GOVERNOR ...

PDF John Deere 111 Wiring Diagram John Deere 111 Wiring Diagram | autocardesign To view just about all pictures in John Deere 111 Parts Diagram pictures gallery please follow this specific link. Keywords for this article: wiring diagram for a john deere 110 11 hp, john deere 111 battery wires, john deere 111 drive belt diagram 1969, john deere 111 with 11 hp briggs engine ...

Repairing a John Deere 180 Mower Deck

Repairing a John Deere 180 Mower Deck

John Deere Belt Sizes - Outdoor Belt Info Belt sizes for John Deere lawn and garden belts. Application, parts number, and belt sizes available. Outdoor Belt Info: LAWN AND GARDEN BELT SIZE INFORMATION: ... Drive Belt (1/2"x88") 111 M82460 Mwr 2ndary jacksheave970(1/2"x66") 111 M83837 Drive Belt (1/2"x88") 111 M88184 Mwr primary jcksheave762(1/2"x60") 116

John Deere ZTrak Belt Routing Guide | My Lawnmower Forum

John Deere ZTrak Belt Routing Guide | My Lawnmower Forum

John Deere Parts Diagram & Parts Search • John Deere Parts ... John Deere AG, Lawn & Garden and CWP Equipment Parts Search. John Deere parts lookup tool and diagram is an incredible online source. It is a complete catalog that shows you detailed parts diagrams of every part of your machine. This online parts catalog is robust and easy to use. Searching for your John Deere parts online has never been easier.

JD 430 60

JD 430 60" Mower Deck Belt Routing | Weekend Freedom Machines

Belt Routing Charts - Green Tractor Talk john deere model 111 38 in mower deck belt routing i took by belts off my mower deck and now i forgot how they go on my lawn tractor is a 1980 john deere 111 with a 38 in non adjustable front lip deck help. Reactions: xjcacher. Save Share. Reply.

John Deere decks by crigby

John Deere decks by crigby

38-inch Mower Deck Parts for 111 - GreenPartStore John Deere Leaf Mulcher Plate 38-inch/38X Mower - M150883. (5) $58.51. Usually available. Add to Cart. Quick View.

SOLVED: Putting a belt on a john deer l 110 - Fixya

SOLVED: Putting a belt on a john deer l 110 - Fixya

TractorData.com John Deere 111 tractor information References: Operator's Manual 108, 111,112L ,116, and 116H (OMM88424-J4) published in 1984: Lawn Tractors and Mowers published in 1981, by John Deere

How to install a Mower Deck Belt on a John Deere L110 tractor

How to install a Mower Deck Belt on a John Deere L110 tractor

John Deere 111 (Belt, Drive) Riding Lawn ... - V-Belt Guys John Deere 111 (Belt, Drive) Riding Lawn Mower Replacement Belt Original Equipment Manufacturer John Deere OEM Part Number A86K Machine Riding Lawn Mower Model 111 (Belt, Drive) Belt Type 4LK/AK Aramid VBG Replacement Id APPL667249 Technical Specifications: (Inches) (mm) Outside Circumference 88.00 2235.20 Top Width 0.50 12.70 Belt Depth 0.3125

116H Drive Belt Change | My Tractor Forum

116H Drive Belt Change | My Tractor Forum

John Deere 111 | Tech Support Forum Joined Jun 26, 2002. ·. 2,741 Posts. Discussion Starter · #1 · Mar 1, 2009. Hi, I'm working on getting an old John Deere 111 working again. I have no idea what is / was wrong with it. Right now it only seems to be missing a battery and the ignition key part. So I was wondering if for testing purposes, can I just use a car battery, and also ...

John Deere 111 Hydrostatic Lawn Tractor -PC1699 REPLACEMENT ...

John Deere 111 Hydrostatic Lawn Tractor -PC1699 REPLACEMENT ...

John Deere Parts Diagrams, John Deere L111 Lawn Tractor ... John Deere PARTS LOOKUP John Deere Parts Diagrams, John Deere L111 Lawn Tractor (With 42-IN Mower Deck) Material Collection System -PC9458 Air Filter & Fuel Pump ENGINE MARKED 406577-0139-E1: FUEL AND AIR

NEED Please: X324 Belt Drive and Idlers Routing Diagram or ...

NEED Please: X324 Belt Drive and Idlers Routing Diagram or ...

John Deere 111 Parts Diagram - Automotive Parts Diagram Images Description: Wiring Diagram For A 11 Hp Model 111 John Deere Lawn Mower regarding John Deere 111 Parts Diagram, image size 998 X 753 px, and to view image details please click the image.. Truly, we also have been realized that john deere 111 parts diagram is being just about the most popular topic at this time. So that we tried to locate some terrific john deere 111 parts diagram graphic for you.

John Deere L&G Belt Routing Guide | My Lawnmower Forum

John Deere L&G Belt Routing Guide | My Lawnmower Forum

Belt path on pulleys

Belt path on pulleys

John Deere L&G Belt Routing Guide | My Lawnmower Forum

John Deere L&G Belt Routing Guide | My Lawnmower Forum

JOHN DEERE HYDRO transmission wheels drive belt L108 L110 ...

JOHN DEERE HYDRO transmission wheels drive belt L108 L110 ...

Help | My Tractor Forum

Help | My Tractor Forum

SOLVED: I need a belt diagram of John Deere L120 mower - Fixya

SOLVED: I need a belt diagram of John Deere L120 mower - Fixya

John Deere 38-IN MID-MOUNT ROTARY MOWER (210, 212, 214, 216 ...

John Deere 38-IN MID-MOUNT ROTARY MOWER (210, 212, 214, 216 ...

SOLVED: I am needing a diagram to replace the mower deck - Fixya

SOLVED: I am needing a diagram to replace the mower deck - Fixya

Deere 111 Drive belt issue | My Tractor Forum

Deere 111 Drive belt issue | My Tractor Forum

JD S240 Belt Issue | Green Tractor Talk

JD S240 Belt Issue | Green Tractor Talk

TractorData.com John Deere 111 tractor information

TractorData.com John Deere 111 tractor information

111H drive belt routing for littleJD | My Tractor Forum

111H drive belt routing for littleJD | My Tractor Forum

John Deere 111 Hydrostatic Lawn Tractor -PC1699 HYDROSTATIC ...

John Deere 111 Hydrostatic Lawn Tractor -PC1699 HYDROSTATIC ...

John Deere 111 Price, Specs, Review, Attachments 2021

John Deere 111 Price, Specs, Review, Attachments 2021

belt diagram for a john deere 212 | Weekend Freedom Machines

belt diagram for a john deere 212 | Weekend Freedom Machines

SOLVED: John Deere 925 a z track drive belt routing - Fixya

SOLVED: John Deere 925 a z track drive belt routing - Fixya

318 Deck Belt Routing | Weekend Freedom Machines

318 Deck Belt Routing | Weekend Freedom Machines

John Deere 111 Lawn Tractor Price Specs Category Models List ...

John Deere 111 Lawn Tractor Price Specs Category Models List ...

John Deere 111 Lawn Tractor Parts

John Deere 111 Lawn Tractor Parts

TractorData.com John Deere 111 tractor information

TractorData.com John Deere 111 tractor information

John Deere L&G Belt Routing Guide | My Lawnmower Forum

John Deere L&G Belt Routing Guide | My Lawnmower Forum

This weekends project. John Deere 111. Needs a new engine! I think I have  just what it needs.

This weekends project. John Deere 111. Needs a new engine! I think I have just what it needs.

John Deere 111 Hydrostatic Lawn Tractor -PC1699 SPINDLE,BLADE ...

John Deere 111 Hydrostatic Lawn Tractor -PC1699 SPINDLE,BLADE ...

Installation, Repair and Replacement of John Deere Tractor ...

Installation, Repair and Replacement of John Deere Tractor ...

John Deere 108 & 111 Lawn Tractor -PC1699 Fuel Tank & Fuel ...

John Deere 108 & 111 Lawn Tractor -PC1699 Fuel Tank & Fuel ...

0 Response to "41 john deere 111 belt diagram"

Post a Comment

Iklan Atas Artikel

Iklan Tengah Artikel 1

Iklan Tengah Artikel 2

Iklan Bawah Artikel