40 grizzly 660 parts diagram
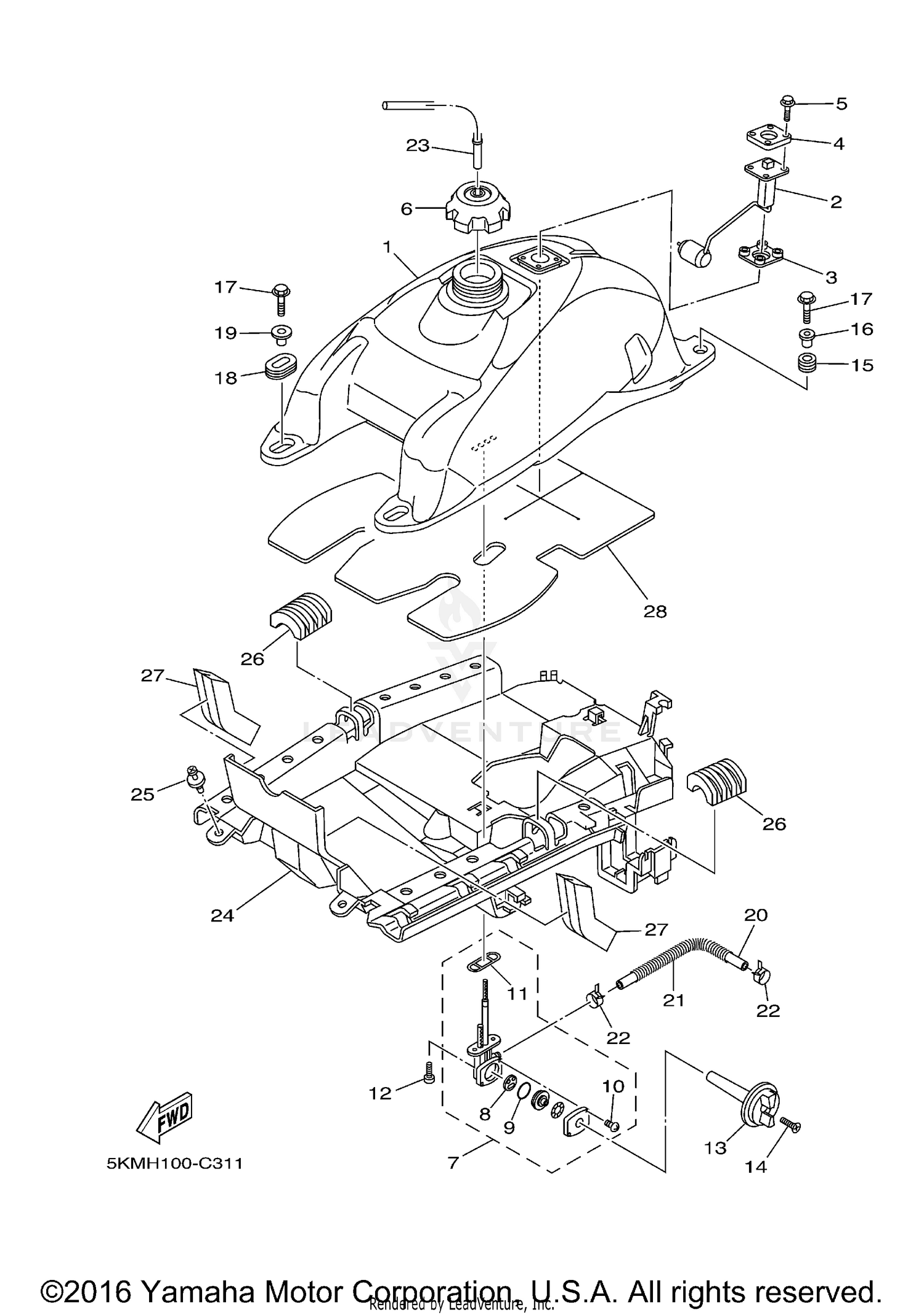
Yamaha GRIZZLY 660 - YFM660FP CARBURETOR Diagram - Partzilla Yamaha GRIZZLY 660 - YFM660FP CARBURETOR Diagram. Catalog; Yamaha; ATV; 2002; GRIZZLY 660 - YFM660FP; CARBURETOR; Check Availability. Select your address # Description Price Qty; 1: CARBURETOR ASSY 1 | (USA) ... Elite OEM (Original Equipment Manufacture) Parts Distributor for premium brands! FREE Shipping on orders of $149 or more ... Grizzly 660 Carb Diagram - Wiring Diagrams Navigate your Yamaha Grizzly YFMFP CARBURETOR schematics below to shop OEM parts by detailed schematic diagrams offered for every assembly on your machine. OEM is an acronym for original equipment manufacturer, which means that the Yamaha Grizzly YFMFP CARBURETOR OEM parts offered at wiringall.com are genuine Yamaha parts/5 (K).
Grizzly 660 Parts *OEM Yamaha Grizzly 660 Parts ... - All Jet If you own a Yamaha Grizzly 660 ATV and are shopping for Yamaha Grizzly 660 ATV OEM apparel, riding gear, parts and accessories, then this is the site for you! You are responsible for what you order! If you aren't sure that you have the right part #, Please Call 269-385-1540 M-F/10-6, Sat./10-3 EST.

Grizzly 660 parts diagram
PDF 501 Parts.com Yamaha 4wd System Parts and Repair 501 Parts.com Yamaha 4wd System Parts and Repair 2006 YAMAHA GRIZZLY 660 4X4 Parts & Accessories Tusk First Line Oil Filter $5.99 $7.99 You save 25%. WATCH VIDEO. Compare. Quick View. NGK Resistor Sparkplug $2.99 $3.40 You save 12%. WATCH VIDEO. Compare. Quick View. Tusk 4-Stroke Oil Change Kit $31.48 - $43.36 $34.84 - $55.84 You save up to 22%. Yamaha Grizzly 660 OEM Parts - YFM66FAT | Partzilla.com Click on a component to open an easy-to-read exploded Yamaha Grizzly 660 parts diagram and corresponding list of YFM66FAT parts. Add your parts to your cart, complete your checkout details and relax while we ship your order straight to your door. Shop now and enjoy up to 80% off retail on all 2005 OEM Grizzly parts!
Grizzly 660 parts diagram. 2005 Yamaha GRIZZLY 660 (YFM66FAT) OEM Parts, Babbitts Online Shop our large selection of 2005 Yamaha GRIZZLY 660 (YFM66FAT) OEM Parts, original equipment manufacturer parts and more online or call at (231)737-4542 2006 Yamaha Grizzly 660 YFM66FAV Parts & OEM Diagram If you need to do simple repair work or handle complex restoration work, you can find the highest quality 2006 Yamaha Grizzly 660 YFM66FAV parts by looking for the assembly and reviewing the detailed schematic diagrams. See how the parts fit together, then select the needed parts, add them to your shopping cart, and check out. Yamaha Grizzly 600 Wiring Diagram - Wiring Diagram and ... 1999 Yamaha Grizzly 600 Yfm600fwal Stand Footrest Parts Oem Diagram For Motorcycles Yamaha Grizzly 660 Without Spark Plug Atv Forum 2007 2017 Yamaha Grizzly 350 4x2 Service Manual And Atv Owners Pdf Heys S Diagram Yamaha Wire Grizzly 660 Red Wire On Relay Draining Battery Yamaha Atv Forum 2006 Rhino 660 Full Wiring Schematic Yamaha Forum Aftermarket Yamaha GRIZZLY 660 4X4 Utility ATV Parts ... Free shipping on orders over $79 to Illinois. Orders over $79.00 will receive free shipping. This is a residential delivery service, deliveries Monday through Friday from 9:00am to 8:00pm.
Grizzly 660 Carb Diagram - schematron.org Grizzly 660 Carb Diagram 11.10.2018 4 Comments Yamaha GRIZZLY (YFM66FAT) Carburetor. Change Assembly. Reset Zoom In Zoom Out. Diagrams Shown are for U.S. Models. Yamaha Ultramatic GRIZZLY Manual Online: Carburetor Adjustment. The carburetor is a vital part of the engine and requires very sophisticated adjustment. Yamaha Grizzly 660 Specs and Review - Off-Roading Pro How to Make the Yamaha Grizzly 660 Faster. Often, the reason behind the endless attempts at customizing the Grizzly is the rider's need for speed. Over the years, professional mechanics and savants have equipped these machines with all kinds of Yamaha Grizzly 660 parts to increase the four-wheeler's top end. Amazon.com: 2003 yamaha grizzly 660 parts Starter Motor Replacement for Yamaha UTV Rhino 450 660 ATV Grizzly 450 660 Kodiak 400 450 Wolverine 450 with 9 Tooth 12V Starter Motor OE Replace # 4WV-81800-00-00, 4WV-81890-00-00, 5KM-81890-00-00 76 $42 59 Get it as soon as Thu, Dec 9 FREE Shipping by Amazon Only 7 left in stock - order soon. More Buying Choices $17.14 (8 used & new offers) Replacement OEM Parts for 2003 Yamaha GRIZZLY 660 (YFM660FR) Original 2003 Yamaha Grizzly 660 (YFM660FR) Parts. Search using manufacturer microfiche assembly diagrams.
Amazon.com: Parts for 2004 Yamaha Grizzly 660 YFM660 Carburetor Carb kit for Yamaha Grizzly 660 YFM660 2002-2008 4-Stroke Engine ATV Carburetor PD42J 42mm,including Air Filter+Intake Manifold Carburetor Boot Joints 144 $55 97 Get it as soon as Thu, Feb 17 FREE Shipping by Amazon Mighty Max Battery YTX20L-BS Battery for Yamaha YFM660F Grizzly 660 4x4 2002-2008 Brand Product 140 $54 99 Exhaust replacement parts for 2003 Yamaha GRIZZLY 660 ... Original 2003 Yamaha Grizzly 660 (YFM660FR) Parts. Search Exhaust parts using manufacturer microfiche assembly diagrams. Yamaha Grizzly 660 Carburetor Diagram Navigate your Yamaha Grizzly YFMFP CARBURETOR schematics below to shop OEM parts by detailed schematic diagrams offered for every. Yamaha GRIZZLY (YFM66FAT) Carburetor. Change Assembly. Reset Zoom In Zoom Out. Diagrams Shown are for U.S. Models. Results 1 - 48 of Carburetor FITS YAMAHA Grizzly YFM NEW Carb Carburetor Carb Rebuild Kit Repair for ... 2005 Yamaha Grizzly 660 YFM66FAT Parts & OEM Diagram Navigate your 2005 Yamaha Grizzly 660 YFM66FAT schematics below to shop OEM parts by detailed schematic diagrams offered for every assembly on your machine. OEM is an acronym for original equipment manufacturer, which means that the 2005 Yamaha Grizzly 660 YFM66FAT OEM parts offered at BikeBandit.com are genuine Yamaha parts.
DOWNLOAD Yamaha Grizzly 660 Repair Manual The clear-to-understand instructions come with photographs, illustrations and diagrams to make service easier. Yamaha Grizzly 660 Repair Manual . A Yamaha Grizzly 660 repair manual contains all the maintenance and repair needs for your specific ATV. It provides more detail than an FSM and has all the instruction you need for basic maintenance ...
Parts - Grizzly Grizzly Industrial, Inc. is a national retail and internet company providing a wide variety of high-quality woodworking and metalworking machinery, power tools, hand tools and accessories. By selling directly to end users we provide the best quality products at the best price to professionals and hobbyists.
PDF 04 Yamaha Grizzly 660 Engine Diagram Our 2004 Yamaha Grizzly 660 YFM660FS OEM diagram is also readily available to help you determine the exact parts, tools and hardware you need to finish your project. Simply look for the right assembly group and find the best match for your needs, ensuring that you have all the proper elements for improving your 4x4.
2004 Yamaha GRIZZLY 660 (YFM660FS) OEM Parts, Yamaha ... 2004 Yamaha GRIZZLY 660 (YFM660FS) Original Equipment Manufacturer Parts at Yamaha Sports Plaza Alternate Parts Camshaft Chain Carburetor Clutch Crankcase Crankcase Cover 1 Crankshaft Piston Cylinder Cylinder Head Drive Shaft Electrical 1 Emblem Label 1 Exhaust Frame Front Brake Caliper Front Differential Front Fender Front Master Cylinder
Yamaha Grizzly 660 OEM Parts | Yamaha Grizzly YFM660 ATV 2003 Yamaha Grizzly 660 Parts. YFM660FHRH. Grizzly 660 4x4 Real Tree Camo. YFM660FR. Grizzly 660 4x4. YFM660FRGY. Grizzly 660 4x4 Gray. YFM660FHR. Grizzly 660 4x4 Wetland Camo.
2002 Yamaha GRIZZLY 660 (YFM660FP ... - Yamaha Parts Pro Shop online for OEM Carburetor parts that fit your 2002 Yamaha GRIZZLY 660 (YFM660FP), search all our OEM Parts or call at (864) 888-8123
2005 Yamaha GRIZZLY 660 (YFM66FAT) OEM Parts Shop our large selection of 2005 Yamaha GRIZZLY 660 (YFM66FAT) OEM Parts, original equipment manufacturer parts and more online or call at 908-483-5322
Yamaha Parts Diagrams - ATV Works Yamaha Parts Diagrams. Click on Diagram Thumbnail to see. expanded view. We stock hundreds of bearings and seals for many models. email us if you don't see your ATV: YFM50 Raptor 04-08, YFM80 Badger 92-01. YFM80 Grizzly 06-08, YFM80 Raptor 02-08. YFM100 Champ 89-91.
Yamaha Grizzly 660 OEM Parts - YFM66FAT | Partzilla.com Click on a component to open an easy-to-read exploded Yamaha Grizzly 660 parts diagram and corresponding list of YFM66FAT parts. Add your parts to your cart, complete your checkout details and relax while we ship your order straight to your door. Shop now and enjoy up to 80% off retail on all 2005 OEM Grizzly parts!
2006 YAMAHA GRIZZLY 660 4X4 Parts & Accessories Tusk First Line Oil Filter $5.99 $7.99 You save 25%. WATCH VIDEO. Compare. Quick View. NGK Resistor Sparkplug $2.99 $3.40 You save 12%. WATCH VIDEO. Compare. Quick View. Tusk 4-Stroke Oil Change Kit $31.48 - $43.36 $34.84 - $55.84 You save up to 22%.
PDF 501 Parts.com Yamaha 4wd System Parts and Repair 501 Parts.com Yamaha 4wd System Parts and Repair
0 Response to "40 grizzly 660 parts diagram"
Post a Comment