38 2005 gmc sierra fuse box diagram
2009 Gmc Sierra Fuse Box Diagram - Free Catalogs A to Z GMC Sierra (2009 - 2013) - fuse box diagram - Auto Genius. 6 hours ago 57 rows · The underhood fuse block is located in the engine compartment, on the driver's side of the vehicle. PDF GM Owner Manuals 2005 GMC Sierra Owner Manual M. GENERAL MOTORS, GM, the GM Emblem, GMC, the GMC Truck Emblem, and the name SIERRA are registered trademarks of General Motors Corporation. Make sure that they are installed correctly, using the diagram on the inside of the battery compartment.
GMC Sierra (2014-2019) Fuse box diagrams... - imgVEHICLE.com GMC Sierra Fuse box. Years of production: 2014 2015 2016 2017 2018 2019. When it comes to a power-packed and muscular pick-up van, then some models provide all the significant functions.

2005 gmc sierra fuse box diagram
GMC - Car PDF Manual, Wiring Diagram & Fault Codes DTC GMC Car Manuals PDF & Wiring Diagrams. GMC-Canyon Owner Manual. engine wiring diagram for a 2005 gmc sierra please> Emailed to Ncasey31@gmail.com. Hello everybody I'm looking for a fuse box diagram in English language for Samsung SM5 SE 2009/2010. your assist is highly appreciated. GMC Sierra mk1 (2005) - fuse box diagram - Auto Genius Year of production: 2005. Instrument Panel Fuse Block. The fuse block access door is on the driver's side edge of the instrument panel. GMC Sierra mk1 - fuse box - instrument panel. Fuses and relays box diagram Chrysler 300 Fuse box diagram Chrysler 300. For the Chrysler 300/300C First generation 2004, 2005, 2006, 2007, 2008, 2009, 2010 model year. - - Fuse box diagram located in the trunk Chrysler 300. Idintifying Power Distribution Center components. Fuse box diagram.
2005 gmc sierra fuse box diagram. 27 2006 Gmc Sierra Fuse Box Diagram - Wiring Database 2020 All gmc fuse box diagram models fuse box diagram and detailed description of fuse locations. Electrical components such as your map light radio heated seats high beams power windows all have fuses and if they suddenly stop working chances are you have a fuse that has blown out. GMC Sierra mk1 (2005) - fuse box diagram |🔧 Fuses Guru Mar 25, 2021 · GMC Sierra mk1 (2005) Fuse Box Diagram. Jonathan Yarden Mar 25, 2021 · 5 min. read. In this article you will find a description of fuses and relays GMC, with photos of block diagrams and their locations. Highlighted the cigarette lighter fuse (as the most popular thing people look for). Get tips on blown fuses, replacing a fuse, and more. 2015 - 2016 GMC Sierra Fuse Box Diagram 2016 GMC Sierra. Fuses and Relays. The wiring circuits in the vehicle are protected from short circuits by fuses. This greatly reduces the chance of fires caused by electrical problems. Look at the silver-colored band inside the fuse. If the band is broken or melted, replace the fuse. 2005 GMC Sierra fuse box diagram - StartMyCar 2005 GMC Sierra fuse box diagram. The 2005 GMC Sierra has 4 different fuse boxes: Cruise Control. Power Take Off (PTO) Vehicle Stoplamps, Brake Module. Electronic Throttle Control Module. Auxiliary Power [Single Battery and Diesels Only] / DuaL Battery [TP2] Do not install fuse. Mid Bussed Electrical Center Power Feed.
'03-'06 Chevy Silverado & GMC Sierra Fuse Box Diagram Passenger Compartment Fuse Box. No. Chevrolet Silverado, GMC Sierra (2003-2006) Fuse Diagram ... Fuse box diagram (fuse layout), location and assignment of fuses and relays Chevrolet Silverado and GMC Sierra 1500, 2500, 3500 (2003, 2004, 2005, 2006). 1999-2006 Chevy Silverado & Sierra Fuse Box Diagram Fuse box diagram and location for GMT800 1999-2006 Chevy Silverado and GMC Sierra trucks. Silverado's and Sierra's, and pretty much most vehicles, will all have two fuse boxes. One will be located inside of the engine bay, and the second will be located in the driver side footwell. 1991 GMC Sierra Fuse Box Diagram - Auto Fuse Box Diagram Car fuse box diagram, fuse panel map and layout. Fuse Panel Layout Diagram Parts: instrument cluster, audio alarm, low coolant, auxiliary coolant fan, back up light, stop lamp, fuel injector, transmission, rear wheel, anti lock, horn relay, starter relay, audio alarm, radio, wiper motor...
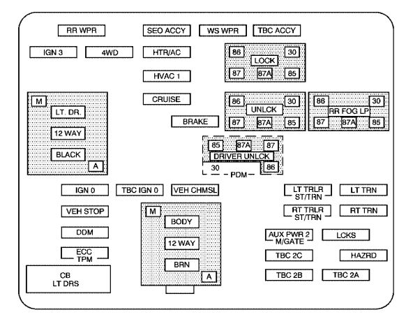
GMC Sierra Fuses & Components - CARiD.com If your GMC Sierra headlights or something else out of electrical system doesn't work, check the fusebox and if it is needed, make a replacement. Fuse Box by Standard®. Standard is to be the leading independent supplier to the automotive aftermarket, providing the highest quality products... 2002 GMC Sierra Fuse Diagram — Ricks Free Auto Repair Advice... 2002 GMC Sierra Center of Dash Fuse Diagram. HVAC 1 Fuse #1 10A HVAC Control Module, Mode Door Motors/Actuators IGN 3 Fuse #2 10A Memory Seat Module, LH and RH Heated Seat Switch BRAKE Fuse #3 10A Electronic Brake Control Module (EBCM) HRTR A/C Fuse #4 25A Blower Motor... GMC Sierra 3500 2005 — DTC — Fuses — Component Locations GMC Sierra 3500 2005 — 2005 GENERAL MOTORS Sierra Silverado. GMC Sierra fuse for trailer brake lights? | Forum 2000 GMC Sierra with no power to trailer brake lights. Pull the ~12"x12" cover off the fuse box. There will be a red plastic block in the You may have to go to the local library and look up a wiring diagram on...
02 Gmc Sierra Wiring Diagram - Wiring Diagram Schemas Gmc sierra mk1 fuse box instrument panel. Thanks again jim re. Whether your an expert gmc sierra c1500 mobile electronics installer gmc sierra c1500 fanatic or a novice 2005 Chevy Silverado Fog Light Wiring Diagram Wiring Diagrams. Engine Diagram Of 02 Gmc 6 0 Duramax Wiring Diagrams.
2005 GMC Sierra fuse box diagram - StartMyCar The 2005 GMC Sierra has 4 different fuse boxes: Instrument Panel Fuse Block diagram. Underhood Electrical Center diagram. Auxiliary Electric Cooling Fan Fuse Block diagram. * GMC Sierra fuse box diagrams change across years, pick the right year of your vehicle
Fuse Box Diagram GMC Sierra (mk2; 2001-2006) Fuse box diagram (location and assignment of electrical fuses and relays) for GMC Sierra (mk2; 2001, 2002, 2003, 2004, 2005, 2006). Cigar lighter (power outlet) fuses in the GMC Sierra are located in the Engine compartment fuse box (see fuses "AUX PWR" (Auxiliary Console Power...
SOLVED: Need fuse box diagram for 2001 gmc sierra - Fixya GMC Sierra mk1 2001 2002 fuse box diagram Year of production 2001 2002 Instrument Panel Fuse Block The fuse block access dooris on the drivers side edgeof the instrument panel...
GMC Sierra Wiring Diagrams GMC Sierra Transmission data Service Manual PDF. We get a lot of people coming to the site looking to get themselves a free GMC Sierra Haynes manual. GMC - Sierra T-Series - Owners Manual - 2005 - 2005.
GMC Sierra (2008) - fuse box diagram - Carknowledge.info GMC Sierra - fuse box - central instrument panel. Lexus GS430 (2003 - 2005) - fuse box diagram Year of production: 2003, 2004, 2005 Driver's side kick panel Passenger's side kick panel Engine compartment Fuse Ampere rating [A] Circuit protected 1 WASHER 20 Windshield […]
1998 Gmc Sierra 1500 Fuse Box Diagram - madcomics Gmc jimmy 1998 fuse box diagram carknowledge. Gmc sierra mk1 2001. Seeking info about 2000 gmc sierra fuse box diagram. Electrical components such as your map light radio heated seats high beams power windows all have fuses and if they suddenly stop working chances are you have a fuse...
GMC Sierra 2500HD 2005 Fuse Box/Block Circuit Breaker Diagram ... Fuse SymbolFuse MapAmpFunction/Amp-Gas, Function/Intensite-Essence1INJ 215A2INJ 115A3O2A15A4O2B15A5IGN 1Function/Amp-Diesel, Function/Intensite-Diesel1EDU25A2ECMRP15A3FUEL HT15A4ECMI15A5EDU GMC Sierra 2500HD 2005 Fuse Panel/Board – Fuse Symbol Map Related diagrams: GMC Jimmy 1998 Dash Fuse Box/Block Circuit Breaker Diagram GMC Jimmy 2008 Main Engine Fuse Box/Block Circuit Breaker Diagram GMC ...
2006 Gmc Sierra Fuse Box Diagram - Free Diagram For Student Fuse box diagram location and assignment of electrical fuses and relays for gmc sierra mk2. 2001 2002 2003 2004 2005 2006. After that power goes thru the stop lamp switch then thru a 15amp fuse in the dash fuse box.
2005 Gmc Sierra Wiring Diagram - Wiring Diagram Source Canyon 2010 Fuse Box Diagram Wiring Library. C7500 Wiring Diagrams Wiring Library. Ram 1500 Master Cylinder Brakelines Moreover 1976 Dodge Truck Wiring. Wiring A Trailer Brake Schematic Diagram. 2005 Gmc W4500 Wiring Diagram Wiring Diagram Database.
Fuse box diagram Ford Sierra and relay with assignment and location Fuse and relay blocks Ford Sierra with designation of elements, box diagrams and photo examples of their execution. Cigarette lighter fuse. The design of the boxes may differ from the one shown and depends on the year of manufacture of the Ford Sierra and the country of delivery.
Interior Fuse Box Location: 1999-2007 GMC Sierra 1500 WT 4.8L V8 3. Locate Bad Fuse - Find the fuse that is tied to the bad component. 4. Remove Fuse - Take out the fuse in question and assess if blown. The video above shows how to replace blown fuses in the interior fuse box of your 2003 GMC Sierra 1500 in addition to the fuse panel diagram location.
2005 GMC Sierra Fuse Box Diagram - MotoGuruMag If you look for a fuse box diagram, timing belt diagram, or maybe wiring diagram - this is a place for you.
Fuses and relays box diagram Chrysler 300 Fuse box diagram Chrysler 300. For the Chrysler 300/300C First generation 2004, 2005, 2006, 2007, 2008, 2009, 2010 model year. - - Fuse box diagram located in the trunk Chrysler 300. Idintifying Power Distribution Center components. Fuse box diagram.
GMC Sierra mk1 (2005) - fuse box diagram - Auto Genius Year of production: 2005. Instrument Panel Fuse Block. The fuse block access door is on the driver's side edge of the instrument panel. GMC Sierra mk1 - fuse box - instrument panel.
GMC - Car PDF Manual, Wiring Diagram & Fault Codes DTC GMC Car Manuals PDF & Wiring Diagrams. GMC-Canyon Owner Manual. engine wiring diagram for a 2005 gmc sierra please> Emailed to Ncasey31@gmail.com. Hello everybody I'm looking for a fuse box diagram in English language for Samsung SM5 SE 2009/2010. your assist is highly appreciated.
0 Response to "38 2005 gmc sierra fuse box diagram"
Post a Comment