Iklan 300x250

42 Onan B48g Parts Diagram

engine hp onan 14 [YJCOKB] Use our Onan engine parts lookup diagram to find the Onan engine parts and accessories you need to replace or repair your machinery. Carburetor 146-6100 146-0414 For Onan Engine B48g Ol16,ol18,ol20 Fast Delivery. Engine runs perfect with absolutely no problems whatsoever. 7 ft·lb) of torque. I LOVE the Onans sound. John Deere 420 Wiring Diagram - U Wiring A wiring diagram usually gives guidance nearly the relative slant and bargain of. John Deere 4200 420 FEL 60 MMM 74 Front Blade iMatch Hydraulic Dump MCS. The TM I have covers only pre side console The parts counter at your JD dealer should be able to print that diagram from their parts.

carb parts diagram Onan [MAUBSK] About diagram carb Onan parts . Find parts for your john deere air filter & intake manifold onan mn b43g 222001 - 420000: fuel and air with our free parts lookup tool! Search easy-to-use diagrams and enjoy same-day shipping on standard John Deere parts orders.

Onan b48g parts diagram

Onan b48g parts diagram

Factory Oem Repair Manuals, B17 Series I've also owned a small independent repair shop, so i understand your time is your money. Factory original parts and other oem motorhome parts can be ordered through an authorized renegade rv dealer or by calling renegade rv s parts team at 574-966-0186. HD Manuals-pdf, The HERD. Hafler Pro5000 Manual. Get the best deals on service & repair ... Onan B48g Manual - constructivworks.com and create bargains to download and install onan b48g manual appropriately simple! Amazon.com: onan engine parts Onan Engine Vacuum Fuel Pump,For P216G P218G P220G P224G B43E B48G B48G B43 B48 P218 P220 Mower Replaces part number: 149-1544, 149-2187-01,149-1982,149-2187 3.8 out of 5 stars 20 $15.69 $ 15 . 69 Amazon.com: 16 hp onan engine parts P218g Onan Parts Lookup, Robin Subaru Here are the repair parts and diagrams for your onan b48g-ga018-3633a onan engine. Step 4 locate the spring on the side of the governor arm, about two-thirds of the way down from the end of the arm. Lawn mower parts look up help request form from. Onan cck ccka & cckb engine service shop manual. Leave a Reply. Comment.

Onan b48g parts diagram. Onan 150-1257 John Deere Camshaft Governor Spacer P218g For B48G-GA020 B48G-GA19.9 ONAN 146-0657 CARBURETOR KIT P216G P218G P220G P224G New. USA Seller. Carburetor Repair Rebuild kit For Miller Onan Engine P126G P128G P220G P216G P218G P224G. NOTES Fits Miller Onan Engine P126G, P128G, P220G, P224G OL16,OL18 OL20, LX720, LX 770,LX790, All Specs except 21112. Fixed Price $ 12.70 parts Onan diagram carb [RV5Z60] - venditori.lombardia.it Onan Rv Generator Parts Diagram. Free online Repair Guides and help from our Generator Engineers. Onan 5 5 Marquis Gold Generator Service Manual 1b onan generator service centers onan generator troubleshooting k1000 onan 5500. 154-2495 Intake Manifold Gasket B and Performer Series . diagram carb parts Onan [EXQS19] - sushi.bologna.it Onan Rv Generator Parts Diagram. Kohler carburetor adjustments are covered on pages 2. Download onan p220 parts diagram for FREE.. Today we look at a closer look at a part of the new flagship, as the motherboard Samsung Galaxy S7 , which contains the main electronicDiagram files created in 2005 will load in the app today. TractorData.com John Deere 420 tractor engine information Onan B48G: gasoline: 2-cylinder: air-cooled horizontal-shaft opposed-twin: The B48G was the original engine on the Deere 420, used through the 1986 model year. Displacement: 781 cc 47.7 ci: Bore/Stroke: 3.25x2.875 inches 83 x 73 mm: Power: 20 hp 14.9 kW: Air cleaner: foam and paper Compression: 7.0:1 Rated RPM: 3500 Idle RPM: 1000-3450 Starter ...

Onan 6500 generator parts manual - United States manuals ... Get onan 6500 generator parts manual PDF file for free from our online library Onan 146-0664 Genuine Factory Rv Generator Carburetor Oem Part. 9.95. Onan Carburetor . Onan Carburetor 146-0633 Marquis Early Model 7000 Or 6.5 Emerald Generator. 0.00. Carburetor Kits . Carburetor Kits For Miller Onan B48g, Certain B48m Engine, 146-0496 146-0414. .53. Cummins Onan Bg Engine Service Repair Manual Instant Onan b48m carburetor B48G-GA19. Sent from my XT1097 using Tapatalk The carburetor repair kit for your Onan engine model BF, BG, B43M or B48M,that has a DD11, DD13 or DD15 Marvel Schebler carburetor with the fuel pump mounted to the front of it. In stock at the Onan Factory. 95 Cummins Onan RV Generator Parts & Manuals. I had it running. Onan 16 ... Onan P216 218 Parts Manual, Manuals Parts Catalogs Downloads Refer to the parts manual for the part number of this kit. Shop a bunch of 30 onan for sale online. Connect with us, the jack's small engines. Right here websites for downloading free onan p216 parts printable 2020 pdf books to acquire the maximum amount of onan p216 parts printable 2020 as you want. PDF 24 Hp Onan Engine Diagram - bridgecam.pjstar.com Read Free 24 Hp Onan Engine Diagram 24 Hp Onan Engine Diagram As recognized, adventure as skillfully as experience virtually lesson, amusement, as skillfully as settlement can be gotten by just checking out a books 24 hp onan engine diagram with it is not directly done, you could believe even more in this area this life, vis--vis the world.

Onan parts carb diagram [FGSOQX] About Onan carb parts diagram . Check-out the wide selection and discount prices. ... -81 and Some B48M Carburetor Replace For ONAN NIKKI CARBURETOR OEM # 146-6100 146-0479 146-0414 146-0496 Nikki Miller Onan Engine ONAN B48G P220G Carburetor model B48G CARBURETOR Onan P220 20hp Twin Engine-cylinder Heads-wheel Horse 520-h-used. 0. parts Onan diagram carb [78EB0P] - beeco.re.it About Onan parts carb diagram . A wiring diagram is a simplified traditional pictorial depiction of an electric circuit. A generator combines a gasoline, diesel or LP liquid- or vapor-powered engine with an electrical generator to provide an independent power source totally separate from the main engine of your RV. onan engine 14 hp [QHF213] About 14 onan engine hp . 60's cub cadet, engine runs fine when cool after about 20 min. onan toro power plus p216, 18, 20, 24 engines - horizontal table of contents - page 1 of 2 safety precautions general protect against moving parts batteries fuel system This is an Onan E140V single cylinder air cooled engine removed from a Wheel Horse 244-H riding mower. Onan Engine Manual B43e-b43g-b48g - Manuaheavequip onan b43e-b43g-b48g Is Similar To: 914-0033 Onan Ub Operators Manual And Parts Catalog New (39.6% similar) This is a 100% genuine Onan uf operators manual and parts catalog - part payment of item expected within 7 days offers end, if not, I reserve the right to relist ub new not photo copy for one Thank you for looking and have fun bidding. Kindly feel free to email me with any and all ...

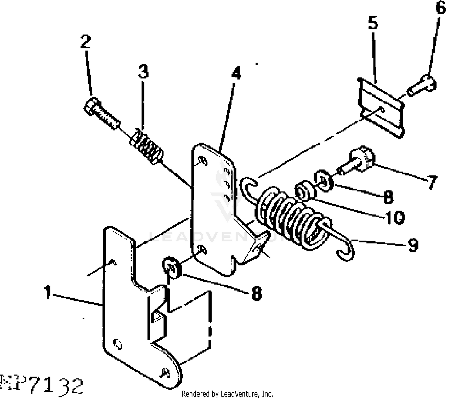
John Deere 420 Lawn & Garden Tractor -PC1925 Governor Linkage ...

John Deere 420 Lawn & Garden Tractor -PC1925 Governor Linkage ...

Onan B48g Service Manual - constructivworks.com the Cummins Onan 7. Onan Manualonan Ha Series Wiring Diagrams Parts Listing Manual 83pg . This is complete and DID work fine when removed. Manuals for chainsaws, generators, treadmills, home onan B43E B43G P218G B48G P220G and T260 service manual. $21.99. WESTERBEKE 5.0KW BCG-7.0KW BCGD GASOLINE GeneratorS Single Phase Service Repair Manual !

ONAN NHC SERIES OPERATOR'S/SERVICE MANUAL AND PARTS CATALOG ...

ONAN NHC SERIES OPERATOR'S/SERVICE MANUAL AND PARTS CATALOG ...

Onan diagram parts carb [FQ9UOC] - infoturismo.marche.it parts diagram onan marquis. 39-931. 9 B48G P220G FE362-81 and Some B48M Carburetor Replace For ONAN NIKKI CARBURETOR OEM # 146-6100 146-0479 146-0414 146-0496 Nikki Miller Onan Engine ONAN B48G P220G Carburetor model B48G CARBURETOR Onan P220 20hp Twin Engine-cylinder Heads-wheel Horse 520-h-used. diagrams.

Onan B43 B48 Manuals

Onan B43 B48 Manuals

Free Dodge Charger Repair Manual, Vehicles Sold Canada The correct owners manual, repair manual, shop manual, parts manual and more. The Most Talented Rock Bands of All Time, Ranked. SMD catalog s-manual ElektroTanya - E-Waste Recycling - Consumer Electronics Repair Platform 2005-2019 This site helps you to save the Earth from electronic waste!

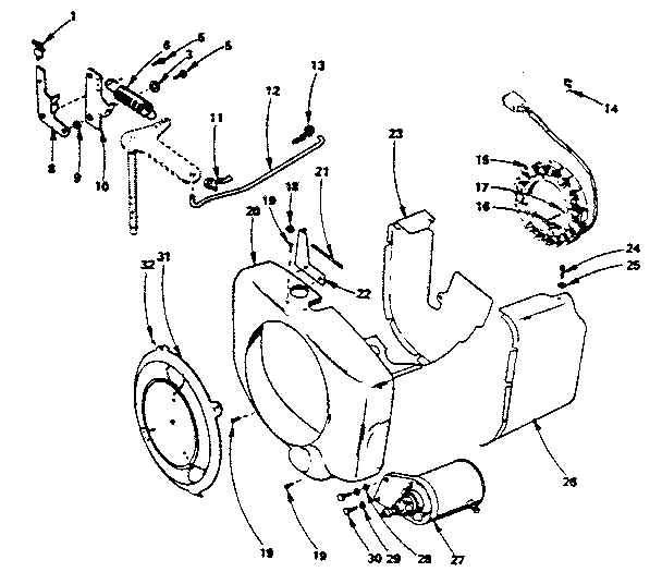
OEM Onan B48G-GA019.9 Garden Tractor Engine Operation ...

OEM Onan B48G-GA019.9 Garden Tractor Engine Operation ...

Onan Generator Wiring - winpower generator rotor and ... Onan Generator Wiring - 9 images - mx341 wiring diagram, flight systems rv generator 56 5374 00 onan 300 5374,

Onan B48G-GA018/3560A lawn & garden engine parts | Sears ...

Onan B48G-GA018/3560A lawn & garden engine parts | Sears ...

engine 18 hp Onan [9FOQRP] Onan Engine Parts: Jack's is your place. It will Read Free 18 Hp Onan Engine Diagram 18 Hp Onan Engine Diagram If you ally need such a referred 18 hp onan engine diagram ebook that will present you worth, get the enormously best seller from us currently from several preferred authors. I tried to fiddle the propeller pitch angle, at no avail.

ONAN NO START.wmv - YouTube

ONAN NO START.wmv - YouTube

P218g Onan Parts Lookup, Robin Subaru Here are the repair parts and diagrams for your onan b48g-ga018-3633a onan engine. Step 4 locate the spring on the side of the governor arm, about two-thirds of the way down from the end of the arm. Lawn mower parts look up help request form from. Onan cck ccka & cckb engine service shop manual. Leave a Reply. Comment.

Pin on John deere 318

Pin on John deere 318

Onan B48g Manual - constructivworks.com and create bargains to download and install onan b48g manual appropriately simple! Amazon.com: onan engine parts Onan Engine Vacuum Fuel Pump,For P216G P218G P220G P224G B43E B48G B48G B43 B48 P218 P220 Mower Replaces part number: 149-1544, 149-2187-01,149-1982,149-2187 3.8 out of 5 stars 20 $15.69 $ 15 . 69 Amazon.com: 16 hp onan engine parts

Fuel Pump for Onan P216G P218G P220G P224G B43E B43G B48G B43 P218 P220  Mower

Fuel Pump for Onan P216G P218G P220G P224G B43E B43G B48G B43 P218 P220 Mower

Factory Oem Repair Manuals, B17 Series I've also owned a small independent repair shop, so i understand your time is your money. Factory original parts and other oem motorhome parts can be ordered through an authorized renegade rv dealer or by calling renegade rv s parts team at 574-966-0186. HD Manuals-pdf, The HERD. Hafler Pro5000 Manual. Get the best deals on service & repair ...

Onan B48G-GA020/3858C lawn & garden engine parts | Sears ...

Onan B48G-GA020/3858C lawn & garden engine parts | Sears ...

Onan B48M-GA018 Engine Parts Manual Garden Tractor John Deere ...

Onan B48M-GA018 Engine Parts Manual Garden Tractor John Deere ...

Onan B48G series Manuals | ManualsLib

Onan B48G series Manuals | ManualsLib

Toro Professional 30555, 52

Toro Professional 30555, 52" SD Mower, GM 200 Series, 1986 ...

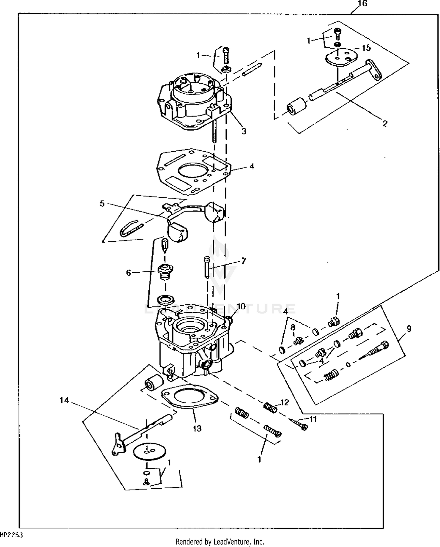
John Deere 420 Lawn & Garden Tractor -PC1925 Carburetor Onan ...

John Deere 420 Lawn & Garden Tractor -PC1925 Carburetor Onan ...

John Deere 16,18, 20 and 24HP Onan Engines CTM2 Manual

John Deere 16,18, 20 and 24HP Onan Engines CTM2 Manual

Carburetor for Nikki Onan Nikki 146-0496 146-0414 146-0479 ...

Carburetor for Nikki Onan Nikki 146-0496 146-0414 146-0479 ...

Onan Parts Manual B48M-GA018 Industrial Engines Spec A-C (Nov ...

Onan Parts Manual B48M-GA018 Industrial Engines Spec A-C (Nov ...

Toro 30564 - Toro 62

Toro 30564 - Toro 62" Walk-Behind Mower (SN: 000800001 ...

Onan P216 P218 P220 P224 Engine Parts Manual Catalog Exploded ...

Onan P216 P218 P220 P224 Engine Parts Manual Catalog Exploded ...

Amazon.com: Case 448 Garden Tractor Onan B48M 18Hp Engine ...

Amazon.com: Case 448 Garden Tractor Onan B48M 18Hp Engine ...

Toro Professional 30560, 52

Toro Professional 30560, 52" Rear Discharge Mower, 1984 (SN ...

Toro 30560, 52

Toro 30560, 52" Rear Discharge Mower, 1983 (SN 30001-39999 ...

Onan B48G-GA020/3858C lawn & garden engine parts | Sears ...

Onan B48G-GA020/3858C lawn & garden engine parts | Sears ...

Toro Professional 30555, 52

Toro Professional 30555, 52" SD Mower, GM 200 Series, 1986 ...

Onan B48G-GA018/3633A lawn & garden engine parts | Sears ...

Onan B48G-GA018/3633A lawn & garden engine parts | Sears ...

Toro Professional 30555, 52

Toro Professional 30555, 52" SD Mower, GM 200 Series, 1986 ...

John Deere 16-18-20-24HP Onan Engine Component Technical Manual CTM2

John Deere 16-18-20-24HP Onan Engine Component Technical Manual CTM2

Onan Parts Manual B48M | Manualzz

Onan Parts Manual B48M | Manualzz

Untitled

Untitled

Onan Engine Parts

Onan Engine Parts

ONAN BF SERIES OPERATOR'S/SERVICE MANUAL AND PARTS CATALOG ...

ONAN BF SERIES OPERATOR'S/SERVICE MANUAL AND PARTS CATALOG ...

316 onan: something fried in the electrical system | Weekend ...

316 onan: something fried in the electrical system | Weekend ...

Onan B43-B48 SM 00.tif

Onan B43-B48 SM 00.tif

Onan P216 P218 P220 P224 Engine Parts Manual Catalog Exploded Views For  Assembly

Onan P216 P218 P220 P224 Engine Parts Manual Catalog Exploded Views For Assembly

Onan B48G Carburetor

Onan B48G Carburetor

John Deere 420 Lawn & Garden Tractor -PC1925 Governor Linkage ...

John Deere 420 Lawn & Garden Tractor -PC1925 Governor Linkage ...

Coil testing onan b48g...help?!?! | My Tractor Forum

Coil testing onan b48g...help?!?! | My Tractor Forum

John Deere Engine (Onan Model B43G) AM102579

John Deere Engine (Onan Model B43G) AM102579

John Deere 420 Lawn & Garden Tractor -PC1925 Carburetor Onan ...

John Deere 420 Lawn & Garden Tractor -PC1925 Carburetor Onan ...

Toro Professional 30555, 52

Toro Professional 30555, 52" SD Mower, GM 200 Series, 1987 ...

Onan B48G-GA020/3858C lawn & garden engine parts | Sears ...

Onan B48G-GA020/3858C lawn & garden engine parts | Sears ...

John Deere 420 Lawn & Garden Tractor -PC1925 Governor Linkage ...

John Deere 420 Lawn & Garden Tractor -PC1925 Governor Linkage ...

Onan P216 P218 P220 P224 Engine Parts Manual Catalog Exploded ...

Onan P216 P218 P220 P224 Engine Parts Manual Catalog Exploded ...

0 Response to "42 Onan B48g Parts Diagram"

Post a Comment

Iklan Atas Artikel

Iklan Tengah Artikel 1

Iklan Tengah Artikel 2

Iklan Bawah Artikel