40 touareg fuel pump diagram
31. $57.34. Filter Element Diesel ENGINE. Ensure clean fuel is deliveRed to the engine. Fuel Pump Filter. Includes Flange. Location-Engine. Included w/ : Fuel filter. Fits Touareg Diesel ENGINE. EDGEMOTORS Touareg fuel pump video:https://www.youtube.com/watch?v=fyNOvhwtCdkStarting pump waveform:http://fkh161.ca/VW/Waveform/TouaregStartingFuelPump.LSM...
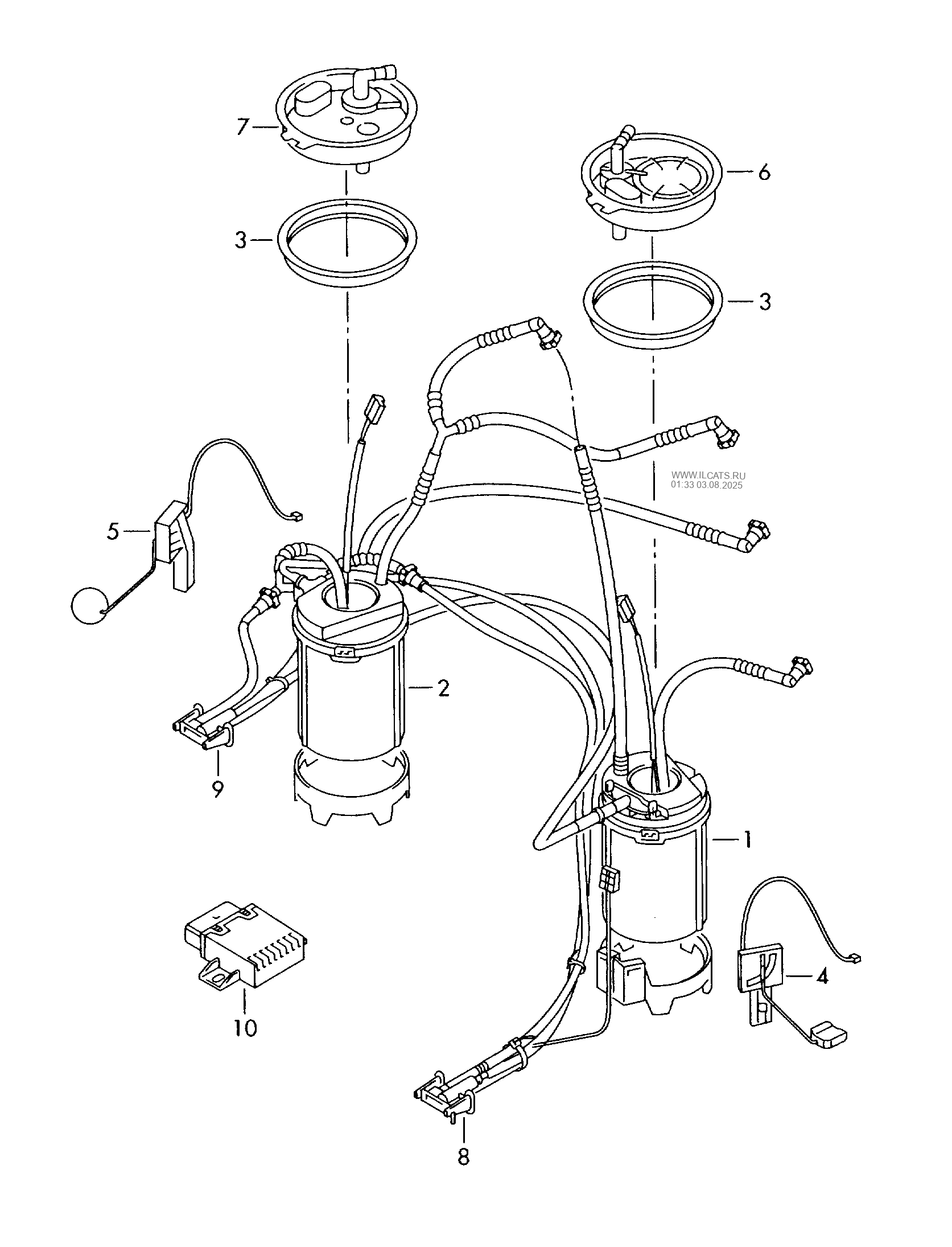
I have changed out my fuel pumps and the filter on my 2004 touareg v8. I made the mistake of not labeling the hoses and what goes where. Would you be able to get me a diagram of how to properly connect the the two pumps, the fuel filter and the housing over the passengers side of the tank.?

Touareg fuel pump diagram
Read Free Vw Touareg Fuel Pump Installation A fuse is a safety device; it protects an electrical circuit from excessive current. Hi could anybody tell me where is the fuel pump relay located on a diesel mk5 vw golf 1. VW Golf MK5 FSI fuel pump control module. Fuel pump failure. Fuse box diagram (fuse layout), location, and assignment of fuses and relays Volkswagen Touareg (7L facelift) (2005, 2006, 2007, 2008, 2009, 2010). Fuel line 2004 touareg, specifically in tank routing. Mechanic's Assistant: Thanks. Can you give me any more details about your issue? Driver side pump was not working. I purchased a driver side pump and tried to install. when I got covers off and tried to install I relised I had 2 identical pumps and they were both passenger side pumps.
Touareg fuel pump diagram. Electric Fuel Pump · Diagrams and Kits · What This Fits · Product Types · Services. Fuse Layout Volkswagen Touareg 2011-2018. Cigar lighter (power outlet) fuses in the Volkswagen Touareg are the fuses #38 (Cigarette lighter, 12 V socket 2), #39 (12 V socket 3, 12 V socket 4), #40 (DC/AC converter with socket 12V - 230V) in the Right Instrument panel fuse box. A priming fuel pump sounds like a high-pitched whine for a few seconds and can be heard with a sharp engine right after the ignition key is turned, but before the starter is engaged. Conclusion: Volkswagen Touareg Bad Fuel Pump. The symptoms of a bad fuel pump match a lot of other common problems that can occur in the Volkswagen Touareg. Fuel system diagnostic pump -V144-Vacuum pump relay -J57-Brake light switch -F-11: 10: Oil level and oil temperature sender -G266-12: 10: Camshaft control valve 2 -N208-Variable intake manifold changeover valve -N335-Camshaft control valve 1 -N205-13: 25: Fuel pump control unit -J538-14: 15: Secondary air inlet valve -N112-Secondary air inlet ...
2004 touareg fuel pump replace (2004 Volkswagen Touareg) need to replace the fuel pump on my 2004 touareg can you point me in the right direction .and on a 1 to 10 how difficult Fuse box diagram (location and assignment of electrical fuses and relays) for Volkswagen (VW) Touareg (2006, 2007, 2008, 2009, 2010). -Secondary Air Injection (AIR) Pump Relay, Coolant Circulation Pump Relay. 13. S13. 15A-Fuel pump (FP) 14. S14. 15A-Transfer Fuel pump (FP) 15. S15. 10A-Motronic Engine Control Module (ECM) Power Supply Relay, Motronic Engine Control Module (ECM) Power Supply Relay 2, Fuel Pump (FP) Relay, Fuel Pump (FP) 2 Relay. 16. S16. 30A VOLKSWAGEN TOUAREG FUSE BOX DIAGRAM. 2002-2005 VOLKSWAGEN TOUAREG FUSE BOX DIAGRAM. 2005-2010 VOLKSWAGEN TOUAREG FUSE BOX DIAGRAM. 2010-2018 VOLKSWAGEN TOUAREG FUSE BOX DIAGRAM.
Touareg with an output of 128 kW. The engines in the Transporter 2004 and in the Touareg differ particularly in respect to their adaptations for transverse and longitudinal mounting. 305_018 305_038 Transporter 2004 - transverse mounting Touareg - longitudinal mounting Electric Fuel Pump. In Tank Assy. Fits Touareg (2004 - 2007) Gas engine. Touareg; 3.2L, 3.6L, 4.2L; Right. 15 people have looked at this part recently Related Products. Fuel Hose 7L0919715 $ 200.00 Fuel Pump Housing 7L0919679A $ 218.33 Fuel Tank Shield (Lower) ... YHTAUTO Affordable and Prime Fuel Pump Module Assembly, Directly Fit Fits Volkswagen Touareg 2004-2006 V6 3.2L, 2004-2007 V8 4.2L, 2007 V6 3.6L Location: Left and Right Side 29.05.2021 · Volkswagen touareg 2010 pdf work and radio 2005 wiring diagram v10 anybody club trailer circuit all diagrams for can we do this automotive tech info ampire lds vwt80 cp smartphone fuel pump no power forum All Wiring Diagrams For Volkswagen Touareg 2010 Cars Volkswagen Touareg Pdf Work And Repair Manuals Wiring Diagrams Radio […]
See more on our website: https://fuse-box.info/volkswagen/volkswagen-touareg-2011-2018-fuses-and-relayFuse box diagram (location and assignment of electrical...
In this article, we consider the first-generation Volkswagen Touareg (7L) before a facelift, produced from 2002 to 2005. Here you will find fuse box diagrams of Volkswagen Touareg 2002, 2003, 2004 and 2005, get information about the location of the fuse panels inside the car, and learn about the assignment of each fuse (fuse layout) and relay.
Oct 02, 2021 The Touareg has a towing capacity of 7,700 lbs. bolts working loose and eventually shearing off. torque converter to carrier plate 22-30 water pump pulley 15-20 water pump to engine 15-20 inlb-nm fuel rail bolt 89-10 timing belt idle bolt 89-10
Fuse box diagram (fuse layout), location, and assignment of fuses and relays Volkswagen Touareg (7L) (2002, 2003, 2004, 2005).
2006 touareg fuel line diagram in tank replacing missing fuel lines and pump in right side tank, need line diagram. - Volkswagen 2006 Touareg 3.2 question
Volkswagen - Touareg - Wiring Diagram - 2004 - 2004; Volkswagen - Touareg - Wiring Diagram - 2004 - 2004 Updated: January 2022. Show full PDF. ... - Check check valves of Fuel Pumps (FP) --> [ Fuel Pump, Checking ] See: Powertrain Management/Computers and Control Systems/Testing and Inspection/Component Tests and General Diagnostics/Fuel Pump ...
03.01.2017 · The sucking jet pump hoses will be the only hoses left in the tank with male fittings, once you pull the old ones out. 5. There are also two black hoses coming from the sucking jet pumps with clips on the ends that will snap into place on top of the fuel pumps. 6. Sucking fuel pump hoses not shown in image, as these stay in the tank.
www.EdgeMotors.comPLEASE LIKE AND SHARE THIS VIDEO!!!!in this video we show you how to replace a fuel filter in VW Touareg and Audi Q7 .Edge Motorsservice@ed...
Fuel pump control module-on fuel tank. 21. Fuse box/relay plate, engine bay 1. 22. Fuse box/relay plate, engine bay 2. 23. Fuse box/relay plate, fascia 1. 24. Fuse box/relay plate, fascia 2. 25. Fuse box/relay plate, fascia 3. 26. Fuse box/relay plate, fascia 4. 27. Fuse box/relay plate, under seat. 28. Garage door open control module. 29. Gas ...
and Touareg is being extended by a high-tech turbodiesel engine. The 3.0l V6 TDI engine has been developed by Audi and is equipped with a piezo-controlled common rail fuel injection system. This unifies power and smoothness in a compact engine. The engine is combined with a diesel particulate filter and meets the EU 4 exhaust emission standard ...
Touareg Fuel Pump Wiring Diagram. Touareg Fuel Pump Wiring Diagram. Category : Wiring Diagram; Post Date : May 19, 2021; Filled in: Wiring Diagram Touareg Fuel Pump Wiring Diagram 9 out of 10 based on 10 ratings. 70 user reviews. Related diagram to Touareg Fuel Pump Wiring Diagram. Source Bmw E46 Fuel Pump Testing . Source Nest Thermostat …
Jun 24, 2013 · The nonstandard diagram doesn't give a clue how power gets to the appropriate contact, whichever it may be, three, four or five. It would sure help to know which contact receives the 12 V for the secondary and which of the remaining contacts run to the fuel pump. I will do a continuity test on the line to the fuel pump connector.
View FUEL SYSTEM COMPONENTS. full diagram for your Volkswagen Touareg. #19. at fuel filter. at fuel tank. center. DIESEL ENGINE. front. rear. from ...
19.01.2014 · www.EdgeMotors.comPLEASE LIKE AND SHARE THIS VIDEO!!!in this video we show you how to replace a fuel pump in VW Touareg and Audi Q7 Edge Motorsservice@edgemo...
Jan 06, 2016 · 2005 touareg VW fuel pump connection diagram or correct hose connection configuration - Answered by a verified VW Mechanic We use cookies to give you the best possible experience on our website. By continuing to use this site you consent to the use of cookies on your device as described in our cookie policy unless you have disabled them.
Fuel line 2004 touareg, specifically in tank routing. Mechanic's Assistant: Thanks. Can you give me any more details about your issue? Driver side pump was not working. I purchased a driver side pump and tried to install. when I got covers off and tried to install I relised I had 2 identical pumps and they were both passenger side pumps.
Fuse box diagram (fuse layout), location, and assignment of fuses and relays Volkswagen Touareg (7L facelift) (2005, 2006, 2007, 2008, 2009, 2010).
Read Free Vw Touareg Fuel Pump Installation A fuse is a safety device; it protects an electrical circuit from excessive current. Hi could anybody tell me where is the fuel pump relay located on a diesel mk5 vw golf 1. VW Golf MK5 FSI fuel pump control module. Fuel pump failure.
0 Response to "40 touareg fuel pump diagram"
Post a Comment