Iklan 300x250

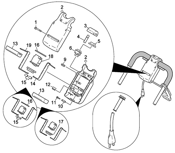
39 Precor Treadmill Parts Diagram

Precor GEN06 Series User Manual (Treadmill...) | GuidesLIB.com ⎙ Precor GEN06 Series manual (Service Manual, 153 pages): View GEN06 Series document online or download in PDF. Precor GEN06 Series PDF Guide Online Viewing Precor 9.23 Manual, Precor Treadmill 9.23 Service... | Guidessimo.com Manufacturer: Precor. Category of Device: Treadmill. Document: Service Manual, File Type: PDF. 2. Disconnect both red leads from the circuit breaker. Refer to diagram 5.5. Precor 9.23 9.23, 9.27 Treadmill Page 10 Section Three - Checking Treadmill.

PRECOR C932I SERVICE MANUAL Pdf Download | ManualsLib Treadmill Precor C936i Owner's Manual. Standard commercial treadmill (52 pages). Page 4 C932i, C946i Treadmill General Information For the latest exploded view diagram, part number and part pricing information, visit the Precor dealer website at " .

Precor treadmill parts diagram

Precor treadmill parts diagram

Parts for Precor Treadmills, Rollers, Decks, Belts Precor treadmill replacement parts like belts, decks, power cords, rollers and more for treadmill models including C966, C956i, C954, C952i, C964, and C934. We have all the parts in stock to properly and expertly replace the Precor Treadmills parts you need. Precor 9.23 Treadmill Review | TreadmillPros.com The Precor 9.23 has everything a home treadmill user looks for. Moreover, at this price range, it is The treadmill 9.23 from Precor has a 3.0 HP continuous duty motor, which makes it unique. Life time warranty for frames and welds, 5 years warranty for parts and wear, and no charge for any labor... Precor Treadmills - A Runner's Favorite - Precor At Home Chosen by professionals around the globe, Precor treadmills adjust to your every step and absorbs the impact for a smooth and comfortable run, with less stress on your joints. Click here to find your Precor treadmill for your home.

Precor treadmill parts diagram. Precor Treadmil Manual C934 | PDF | Electromagnetic Interference Precor Treadmil Manual C934 - Free download as PDF File (.pdf), Text File (.txt) or read online for free. treadmil manual. Diagram 1 Correct power outlet for U.S. Markets: 120-volt and 240-volt plugs. Federal Communications Commission Part 15 The treadmill has been tested and found to comply... Инструкция обслуживания Precor 932i Беговая дорожка фитнес Официальный документ инструкции продукта Precor 932i предоставленный производителем Precor. Radio Frequency Interference (RFI) Federal Communications Commission, Part 15 This Treadmill Grounding Instructions The treadmill must be grounded. If the equipment malfunctions or... Precor 954i Справочник Пользователя... | Manualsbrain.com Справочник Пользователя для Precor 954i. Страница 24Treadmill: Determining the Club Speed Treadmill: Setting an Incline Limit Limit You can set the maximum grade Страница 53Exercise to Your Target Heart Rate Heart Rate Analysis A heart rate receiver is an integral part of the display... Precor Treadmill Parts - FitnessGraveyard Precor Treadmill Parts. Filter by. More Filters... Bikes. Cybex treadmill parts. Drive belt. Ellipticals. Lifefitness bike parts. Precor treadmill parts. Proform elliptical parts. Stair machines. Star trac bike parts.

Amazon.com: precor treadmill parts Treadmill Doctor Precor Treadmill Running Belt Model 9.25I Serial 2Z. Icon Replacment Treadmill Drive Belt - Part #248521 - (Fits Over 50 Models) - Nordic Track, Proform, Rebook and More (Models Listed). Precor Treadmill controller help | Electronics Forums Precor Treadmill controller help. Reply to Thread. I have a Pacific Scientific PWM3652-5458-3 motor that came from a Precor treadmill . it was running when I pulled the motor but I learned after the first one how deep to go to get all the good parts , just wish I have kept the upper board on this one animal. Precor Treadmill Manuals and User Guides PDF Preview and Download Download manuals & user guides for 197 devices offered by Precor in Treadmill Devices category. Choose one of the enlisted appliances to see all available service manuals. Precor Treadmill: List of Devices. Precor TRM 243 Treadmill The Precor TRM 243 treadmill puts you in control of your fitness. The color LCD touch console suggests workouts based on your goals and progress, and lets you select what Lifetime warranty on the frame and welds. 5-years parts. Get these popular ADD ons. Precor TRM 243 Treadmill.

PDF 44291-106 C956-954-nd 11-07-03.pmd Federal Communications Commission Part 15. The treadmill has been tested and found to comply The treadmill incorporates the Precor SmartRate® and Heart Rate features into its display console. Diagram 3. Grasp the hand holds inside the rear end caps and use proper lifting techniques to lift the... How to disassemble a precor treadmill : treadmills Any tips on disassembling the top part to fit it in my SUV? I was going to buy a used one but dont think it will fit. It is a big Precor. I have an Ifit treadmill that in less than a year has had a touchscreen fail. No backlight. 40 minutes phone call for warranty service.. send out a new upper housing and display. Precor Treadmill Comparison Chart Precor Treadmill Comparison Chart. Compare, Research, and Review the differences, features, and specs of Precor Treadmills at Fitness Superstore. The chart below provides side by side comparisons, so you can choose the product best suited for you.. PRECOR TREADMILL WIRING DIAGRAM - Auto Electrical Wiring... Manuals And Parts Diagrams - Gym Equipment Repair Service Manuals And Parts Diagrams . Gym Equipment User Manuals If you the manual you are searching for is not listed here, please e-mail Precor 9 9 Low Impact Treadmill Owner Manual Precor 9 Owner Manual Precor 9 9 9 Assembly...

Free Shipping 110V SOLE Spirit Motor ALT6330 ALT 6330 ALT ...

Free Shipping 110V SOLE Spirit Motor ALT6330 ALT 6330 ALT ...

Precor, Precor, Non Folding Treadmills, Commercial Treadmills... New and Used Non Folding Treadmills Replacement Repair Parts for Precor Treadmill Base( AGNB + AZBJ). Model Numbers are Unique Identifiers, they are important because they lead you to access diagrams and part lists specific to the version of a given model equipment you own.

Sunny Health & Fitness Performance Treadmill with Auto Incline

Sunny Health & Fitness Performance Treadmill with Auto Incline

Precor C954i Service manual | Manualzz C954, C956 Treadmill C954, C956 Treadmill Warning: This service manual is for use by Precor trained service providers only. If you are not a Precor Section Seven, Technical Diagrams and Parts Lists. This section includes wiring diagrams, and block diagrams for the C954 & C956 Treadmills.

Precor 521si Elliptical Lower Control Board for sale online ...

Precor 521si Elliptical Lower Control Board for sale online ...

Руководство по эксплуатации Precor C956i - ManualsBase.com... The treadmill does not contain any user-serviceable parts. For information about product operation or service, visit the Precor Web Site at or contact an authorized Precor 3. Move the treadmill. Diagram 3. Grasp the hand holds inside the rear end caps and use proper lifting tec.

Precor Treadmill Filter To Drive Module Cable Assembly Wire Harness  300826017

Precor Treadmill Filter To Drive Module Cable Assembly Wire Harness 300826017

PDF Service Manual, C932i, C946i Treadmill.fm Section Seven, Technical Diagrams and Parts Lists. This section includes wiring diagrams, and block diagrams for the C932i, C946i Treadmills. For the latest exploded view diagram, part number and part pricing information, visit the Precor dealer website at " .

Precor TRM 211 Energy Series Treadmill Review

Precor TRM 211 Energy Series Treadmill Review

Precor treadmill - Precor 9.23 - How to access diagnostic mode Precor treadmill - Precor 9.23 - How to access diagnostic mode - How to calibrate the lift - Resetting system information - how to display the Treadmill Odometer. Accessing the Diagnostic Program The 9.23 Treadmill's diagnostic program cycles through the following modes: Lift Mode - Allows you to...

Precor 9.2,9.2s Treadmill Lower Motor Control Board new ...

Precor 9.2,9.2s Treadmill Lower Motor Control Board new ...

Precor 9.33 Treadmill Review | COMPARE Precor Treadmill 9.33 Precor 9.33 Treadmill Review. We offer detailed and unbiased reviews of all Precor treadmills. Precor 9.33 Premium Series Treadmill is a treadmill designed with professional quality that will bring the latest technology and design to your personal gym.

Horizon 7.8AT Treadmill User Manual - Manuals+

Horizon 7.8AT Treadmill User Manual - Manuals+

Treadmill Parts | Precor Find high quality parts for your treadmill at Treadmill Doctor! Search our 50,000 product catalog to find the treadmill parts you need for NordicTrack, Proform, Precor, Gold's Gym, True Fitness, and many more!

Precor Home Fitness Equipment | Top Fitness Store

Precor Home Fitness Equipment | Top Fitness Store

Precor TRM 800 User Manual | 64 pages User guide • Read online or download PDF • Precor TRM 800 User Manual • Precor Sports and recreation. Assembling and Maintaining. TRM 800-Series Treadmills. Precor Incorporated. 20031 142nd Avenue NE.

Precor C932 Owner's Manual | Manualzz

Precor C932 Owner's Manual | Manualzz

PDF Microsoft Word - Assembling and Maintaining Treadmills _2014 Model... Using the Treadmill Safety Clip. Treadmill Auto Stop™ (Automatic Stop) Function. Precor is widely recognized for its innovative, award-winning designs of exercise equipment. Read the assembly and maintenance guide before operating. There are no user-serviceable parts inside.

NEW Precor elliptical lift elevation motor C546i C576i EFX835 ...

NEW Precor elliptical lift elevation motor C546i C576i EFX835 ...

Precor Treadmills for sale | eBay Buy Precor Treadmills and get the best deals at the lowest prices on eBay! Great Savings & Free Delivery / Collection on many items. Precor Treadmill IFT module Part # 49866-106 Refurbished!

The 9 Best Treadmills for Every Space and Every Experience Level

The 9 Best Treadmills for Every Space and Every Experience Level

Precor Treadmills - A Runner's Favorite - Precor At Home Chosen by professionals around the globe, Precor treadmills adjust to your every step and absorbs the impact for a smooth and comfortable run, with less stress on your joints. Click here to find your Precor treadmill for your home.

Search Tips | Fitness and Exercise Equipment Repair Parts

Search Tips | Fitness and Exercise Equipment Repair Parts

Precor 9.23 Treadmill Review | TreadmillPros.com The Precor 9.23 has everything a home treadmill user looks for. Moreover, at this price range, it is The treadmill 9.23 from Precor has a 3.0 HP continuous duty motor, which makes it unique. Life time warranty for frames and welds, 5 years warranty for parts and wear, and no charge for any labor...

A New Design of High Impact Load Rejection System Based ...

A New Design of High Impact Load Rejection System Based ...

Parts for Precor Treadmills, Rollers, Decks, Belts Precor treadmill replacement parts like belts, decks, power cords, rollers and more for treadmill models including C966, C956i, C954, C952i, C964, and C934. We have all the parts in stock to properly and expertly replace the Precor Treadmills parts you need.

Untitled Document

Untitled Document

The 15 Best Treadmills for Every Type of Runner | Good ...

The 15 Best Treadmills for Every Type of Runner | Good ...

Precor 9.1 Mode 1 Treadmill Repair Parts Eprom Fuse diagram ...

Precor 9.1 Mode 1 Treadmill Repair Parts Eprom Fuse diagram ...

Assembling and Maintaining TRM 800-Series Treadmills

Assembling and Maintaining TRM 800-Series Treadmills

Precor, Precor, Elliptical, Commercial Ellipticals, EFX534I, AMWG

Precor, Precor, Elliptical, Commercial Ellipticals, EFX534I, AMWG

PRECOR 9.2 ORIGINAL Treadmill Motor Cover Hood | #336778073

PRECOR 9.2 ORIGINAL Treadmill Motor Cover Hood | #336778073

Icon Health & Fitness, NordicTrack®, Non Folding Treadmills ...

Icon Health & Fitness, NordicTrack®, Non Folding Treadmills ...

Parts Finder

Parts Finder

2002 Arctic Cat ZR 120 (S2002ZRAAAUSG) Slide Rail, Idler ...

2002 Arctic Cat ZR 120 (S2002ZRAAAUSG) Slide Rail, Idler ...

Primo Fitness png images | PNGEgg

Primo Fitness png images | PNGEgg

Service Manual

Service Manual

PRECOR TREADMILL INCLINE Lift Elevation Motor Actuator 44064 ...

PRECOR TREADMILL INCLINE Lift Elevation Motor Actuator 44064 ...

Precor EFX 546i Experience Elliptical Cross-Trainer (Remanufactured)

Precor EFX 546i Experience Elliptical Cross-Trainer (Remanufactured)

This addendum accompanies your equipment documentation and is ...

This addendum accompanies your equipment documentation and is ...

Horizon 7.8AT Treadmill | Fitness Expo

Horizon 7.8AT Treadmill | Fitness Expo

Cub Cadet Recon 23HP Kohler | 48 | eReplacementParts.com

Cub Cadet Recon 23HP Kohler | 48 | eReplacementParts.com

Untitled

Untitled

Precor Treadmill Parts – FitnessGraveyard

Precor Treadmill Parts – FitnessGraveyard

S3.25 Strength System Owner's Manual - Precor

S3.25 Strength System Owner's Manual - Precor

Precor 9.27 Manuals | ManualsLib

Precor 9.27 Manuals | ManualsLib

Precor TRM 211 Energy Series Treadmill Review

Precor TRM 211 Energy Series Treadmill Review

Amazon.com : Precor Heart Rate Pulse Grip Hand Sensor ...

Amazon.com : Precor Heart Rate Pulse Grip Hand Sensor ...

Delivery & Installations

Delivery & Installations

Precor 9.1 Mode 1 Treadmill Repair Parts Eprom Fuse diagram ...

Precor 9.1 Mode 1 Treadmill Repair Parts Eprom Fuse diagram ...

Amazon.com : Precor Console Cup Holder Accessory Tray ...

Amazon.com : Precor Console Cup Holder Accessory Tray ...

Precor Elliptical Repair | Store museusolsona.cat

Precor Elliptical Repair | Store museusolsona.cat

0 Response to "39 Precor Treadmill Parts Diagram"

Post a Comment

Iklan Atas Artikel

Iklan Tengah Artikel 1

Iklan Tengah Artikel 2

Iklan Bawah Artikel