Iklan 300x250

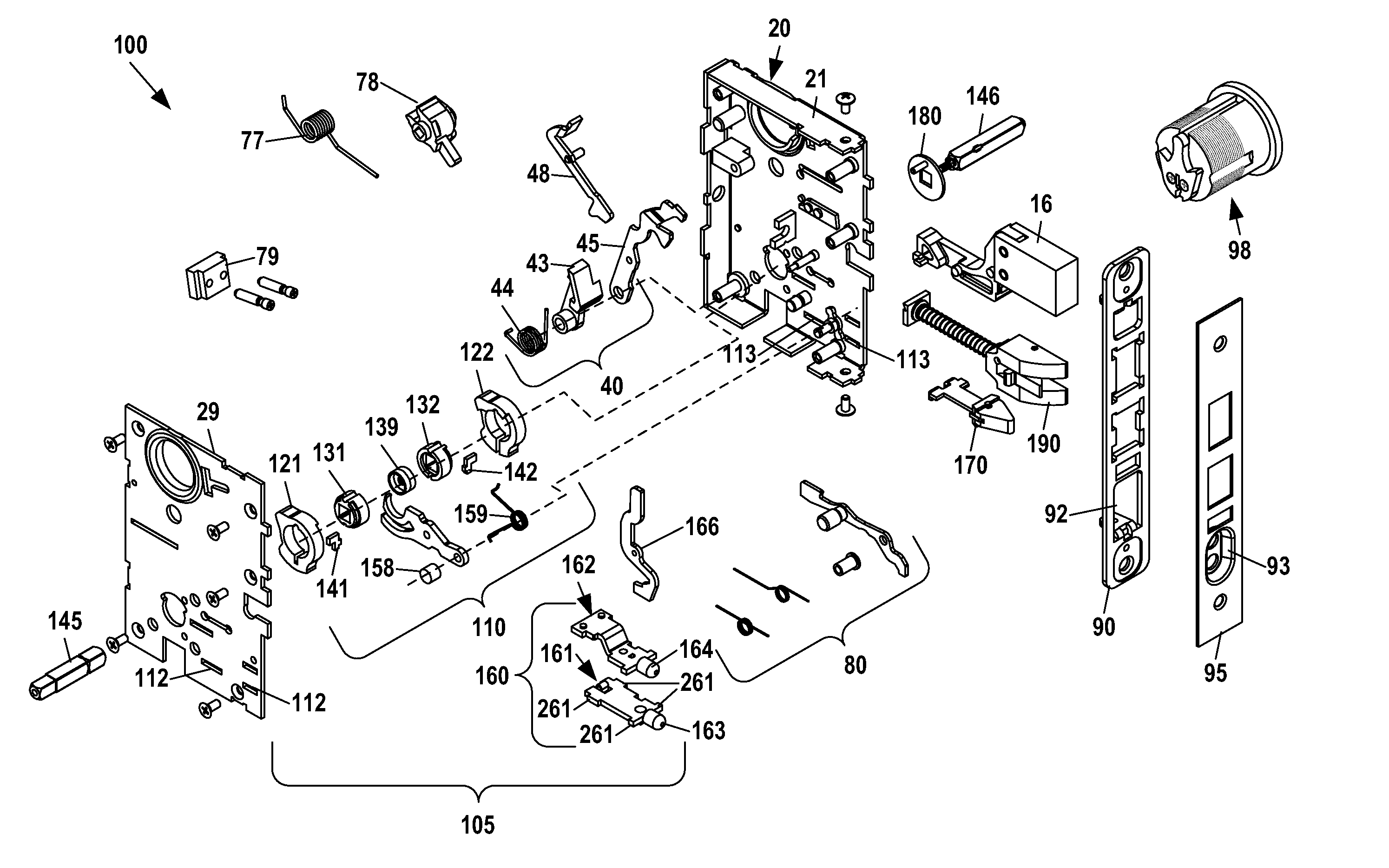
36 yale mortise lock parts diagram

Drill Wood Mortise Chisel Pencil Tape Measure Level ... Optional Yale Smart Module Optional Fire Kit Parts. P/N YRD226-MNL-0001 Rev I 3 ... Press Yale logo to wake up lock . 2. Enter Master Entry Code* followed by icon. Lock Response: "Welcome to the Settings Menu. Press each number to hear

Yale Mortise Lock Parts Diagram. other exposed parts are fabricated of either brass And Yale's Series mortise lock is a perfect example that true quality Laboratories does not list locks. Items 1 - 36 of $ List Price. Click here to see Yale Standard Mortise Cylinder /8" /8-TAKR .

Commercial grade locks, exit devices, key systems, door closers from CORBIN RUSSWIN

Yale mortise lock parts diagram

Yale mortise lock parts diagram

Yale 8800 Series Mortise Locks are designed and manufactured for uncompromising strength and durability in a range of commercial applications. Lock installation is made easy with quick lever handing, field reversible latchbolt and standard nonhanded strike. The 8800 Series Mortise Lock offers a new measure of security, featuring a reinforced ...

mortise lock parts breakdown ... Does Schlage offer a cam that will work with a Yale mortise lock? Resolution: Schlage offers a comparable cam to the Yale 2160 and it will operate any Yale lock that utilizes the Yale 2160 cam. Schlage Cams for Yale 2160 Part Number Description B520-7...

Yale® 8800 Series Mortise Locks are manufactured to be maintenance-free under normal operating conditions and environments. Subjection to extremely heavy traffic and/or particularly dusty and dirty environmental conditions, however, may eventually cause unsatisfactory operation due to slow-moving parts or sticking cylinders. In this case, it ...

Yale mortise lock parts diagram.

View and Download Yale MORTISE 8800 SERIES parts & service manual online. GRADE 1 MORTISE LOCKSET. MORTISE 8800 SERIES locks pdf manual download.

Items 61 - of CORBIN-RUSSWIN PARTS A 6PIN IC MORTISE CYLINDER, LFIC HOUSING, /2 IN., SCHLAGE CLOVERLEAF. 6. |0. Sargent Latchbolt Assembly 82-5263. 2. 2. 2 d. 2. 3. Yale Mortise Lock Parts Manual Diagram Names. Mortise Locks. Mortise Lock Parts. Lock Correlation Table. SML Mortise Lock Parts. NML Mortise Lock Parts. EML Mortise Lock Parts .

Yale 1178L Spindle for Lever x Lever Applications. Yale Hardware. MSRP: Now: $35.25. Was: Yale 1178L Spindle for Lever x Lever Applications - Swivel Spindle 3/8" for Lever x Lever Yale mortise locks - sold each. Works with 8800 series mortise locks. Works with 1-1/4 to 1-3/4 door thickness.

Yale commercial Parts and Service Manuals for cylinders/keying, exit devices, mortise locks

Everything You Need To Know About Mortise Locks

Everything you need to know about mortise locks

Historic Houseparts, Inc. > Antique Mortise Lock Resources

Historic houseparts, inc. > antique mortise lock resources

8800 Series Parts Manual - .Yale® 8800 Series Mortise Locks ...

8800 series parts manual - .yale® 8800 series mortise locks ...

Sargent 82-5263 Latchbolt Assembly, Old Sargent #82-3655

Sargent 82-5263 latchbolt assembly, old sargent #82-3655

Mortise Lock | Digital Door Lock Supplier | MG1634

Mortise lock | digital door lock supplier | mg1634

Replacement Spindle for Yale 8000 Series Mortise Lock 50-1178-0001

Replacement spindle for yale 8000 series mortise lock 50-1178-0001

mortise lock – Door Hardware Genius

Mortise lock – door hardware genius

Analytics for US Patent No. 8424935, Mortise lock assembly

Analytics for us patent no. 8424935, mortise lock assembly

Buy Cal-Royal NM8440 Grade 1 Privacy Mortise Lock with Deadbolt ...

Buy cal-royal nm8440 grade 1 privacy mortise lock with deadbolt ...

Yale 8802FL Privacy Mortise Lock (F19), Lever Trim, US26D-Satin Chrome, For  1 3/4 Thick Doors

Yale 8802fl privacy mortise lock (f19), lever trim, us26d-satin chrome, for 1 3/4 thick doors

Mortise Lock Service & Repair Portland, Oregon (OR) - Locksmith Monkey

Mortise lock service & repair portland, oregon (or) - locksmith monkey

8800 Series Mortise Locks - ASSA ABLOY

8800 series mortise locks - assa abloy

Special mortise locks with electronics for access rights and ...

Special mortise locks with electronics for access rights and ...

Historic Houseparts, Inc. > Antique Mortise Lock Resources

Historic houseparts, inc. > antique mortise lock resources

YALE MORTISE 8800 SERIES PARTS & SERVICE MANUAL Pdf Download ...

Yale mortise 8800 series parts & service manual pdf download ...

NM8080 - Cal-Royal Mortise Lock Heavy Duty Grade 1 - Storeroom

Nm8080 - cal-royal mortise lock heavy duty grade 1 - storeroom

Lock Picking 101 • My Corbin Mortise Project | Vintage door ...

Lock picking 101 • my corbin mortise project | vintage door ...

NM Series

Nm series

Historic Houseparts, Inc. > Antique Mortise Lock Resources

Historic houseparts, inc. > antique mortise lock resources

L460 Cylinder x Thumbturn Mortise Deadbolt Lock

L460 cylinder x thumbturn mortise deadbolt lock

YALE 626F INSTALLATION INSTRUCTIONS AND OPERATORS MANUAL Pdf ...

Yale 626f installation instructions and operators manual pdf ...

MR Series - Grade 1 Extra Heavy Duty Mortise Locks

Mr series - grade 1 extra heavy duty mortise locks

8800 Series Mortise Locks - ASSA ABLOY

8800 series mortise locks - assa abloy

What is the part number for the lever return spring for the old M ...

What is the part number for the lever return spring for the old m ...

Yale 8802FL Mortise Lever Lockset w/Rose - Privacy (F19) - Epivots.com

Yale 8802fl mortise lever lockset w/rose - privacy (f19) - epivots.com

Prime-Line Products 5130 Storm Door Mortise Lock with 5 Pin ...

Prime-line products 5130 storm door mortise lock with 5 pin ...

Mortise Lock Body, 340 US3 for Papaiz

Mortise lock body, 340 us3 for papaiz

Yale PBR 8801FL 626 RH Heavy Duty Mortise Lockset, Lever, Passage ...

Yale pbr 8801fl 626 rh heavy duty mortise lockset, lever, passage ...

Historic Houseparts, Inc. > Antique Mortise Lock Resources

Historic houseparts, inc. > antique mortise lock resources

electrified door hardwareMortise Lock Parts & Accessories

Electrified door hardwaremortise lock parts & accessories

Yale 8805FL Mortise Lever Lockset w/Escutcheon - Storeroom, - Epivots.com

Yale 8805fl mortise lever lockset w/escutcheon - storeroom, - epivots.com

Mortise-Lock - Entrance Lockset - 38P3 - PT. Mega Perkakas Indonesia

Mortise-lock - entrance lockset - 38p3 - pt. mega perkakas indonesia

Yale 8000 series Mortise Lock Catalog - Door Hardware

Yale 8000 series mortise lock catalog - door hardware

How to Measure a Mortice Lock

How to measure a mortice lock

Kunci Pintu Set Kit 35 50 Mm Ketebalan Pintu Hook Pintu Saku Bulat ...

Kunci pintu set kit 35 50 mm ketebalan pintu hook pintu saku bulat ...

0 Response to "36 yale mortise lock parts diagram"

Post a Comment

Iklan Atas Artikel

Iklan Tengah Artikel 1

Iklan Tengah Artikel 2

Iklan Bawah Artikel