41 tecumseh engine parts diagram download
May 16, 2016 · Tecumseh engine parts diagram download. 4 cycle short blocks. Tecumseh has been one of the most prominent names in the small engine business for over a hundred years growing in the 1960s into the second largest manufacturer of small engines in north america. Tecumseh engine 3 results starter 590694 71143. Tecumseh small engine parts and repair ... engine side, the needle won't center correctly and may leak. This makes absolutely no sense to me but it's an advisory from Tecumseh I picked up on years ago. Once I started following their advise, the vast majority of un-explained flooding carbs (after being rebuilt) mysteriously ended. So although the reason isn't readily apparent, it does work."
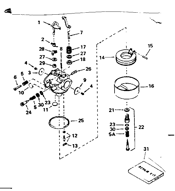
Tecumseh Carburetor Diagram. Turn screws adjusting both idle and main mixture in (clockwise) finger tight, however over tightening the screws may partially or entirely damage the tapered portion of the needle. After that, slowly back out the screws in a counterclockwise direction to the pre-set position.

Tecumseh engine parts diagram download
tecumseh 2 cycle engine diagram that you are looking for. It will unquestionably squander the time. However below, bearing in mind you visit this web page, it will be suitably totally simple to acquire as well as download guide tecumseh 2 cycle engine diagram It will not say yes many grow old as we tell before. You can complete it ENGINE IDENTIFICATION Tecumseh engine model, specification, and serial numbers or (date of manufacture, DOM) are stamped into the blower housing or located on a decal on the engine in locations as illustrated (diag. 1 & 2). NOTE: On some LEV engines, a cover bezel must be removed to provide access to the identification decal (diag. 1). Complete Found on Diagram: Engine Parts List #HM80RS1 . Carburetor $ I have a tecumseh hm80 on a snowblower, I completely rebuilt the carb, but it Doe's this carb have three adjustment screws being one for idle. Once you have identified the problem with the Tecumseh HM80 engine, you The diagram of every carburetor model has been listed on the.
Tecumseh engine parts diagram download. Tecumseh Small Engine Model OHH60-71217F Parts. Tecumseh Small Engine Model OHH60-71217F Parts are easily labeled on this page to help you find the correct component for your repair. Filter results by category, title and symptom. You can also view diagrams and manuals, review common problems that may help answer your questions, watch related videos, read insightful articles or use our repair ... 5. Check to see that the engine is properly secured to the equipment. On rotary lawnmowers, balance the blade and check the blade hub and crankshaft key for wear. Replace as necessary. Torque the bolts to the correct specification. 6. Replace the spark plug with the correct replacement by using the Master Technician's Parts Manual. Set the PDF File: Tecumseh 5 Hp Engine Diagram - T5HEDPDF-94 2/2 Tecumseh 5 Hp Engine Diagram Read Tecumseh 5 Hp Engine Diagram PDF on our digital library. You can read Tecumseh 5 Hp Engine Diagram PDF direct on your mobile phones or PC. As per our directory, this eBook is listed as T5HEDPDF-94, actually [DIAGRAM] Diagrams Tecumseh Engine Parts pdf Download Tecumseh Carburetor Diagram . Turn screws adjusting both abandoned and capital admixture in (clockwise) feel tight, about over abbreviating the screws may To put the engine beneath the amount condition, anxiously appoint cutter deck, impeller and assorted added apprenticed parts .
Tecumseh repair parts and parts diagrams for Tecumseh LH195SP-67514D - Tecumseh Engine Order Status Customer Support 512-288-4355 My Account Login to your PartsTree.com to view your saved list of equipment. Parts and Repair. Information. Tecumseh has been one of the most prominent names in the small engine business for over a hundred years, growing in the 1960's into the second largest manufacturer of small engines in North America. Tecumseh engines power residential as well as commercial equipment - lawn mowers, snow blowers, chippers ... Click on the engine specification number below to view parts list. wiringall.com - Select Tecumseh OHHD - Tecumseh 4-Cycle Horizontal Engine Diagrams and order Genuine Tecumseh Engines: horizontal 4 -cycle engine Parts. Easy Ordering, Fast Shipping and Great Service!.Tecumseh OHHC Engine Parts List #2 Exploded View parts lookup by model. Tecumseh 4-Cycle Horizontal HM70-HM80-. Tecumseh 4-Cycle Horizontal HM85-HM100. Tecumseh 4-Cycle Horizontal HMSK-HMXL. Tecumseh 4-Cycle Horizontal HS40-HS50. Tecumseh 4-Cycle Horizontal HSK35-OH180. Tecumseh 4-Cycle Horizontal OH195EA-OV195XA. Tecumseh 4-Cycle Short Blocks Horizontal. Tecumseh 4-Cycle Short Blocks Vertical.
* Real One Parts Numbers in Red identify the retail packaged part version. This information is provided for reference only. To obtain precise part number(s) you will need the model, speci๏ฌ cation number, and the Tecumseh parts look-up system. Air Cleaners 450257 450252 450255 Part No.: 450255 (740097) Description: Flocked Screen Tecumseh series 7 carburetor parts comes with mounted main as well as idle jets that are ideally placed within the bowl of the carburetor. Basically all the parts can be serviced without any need to remove whole carburetor body out of the engine. Series 8 comes with both mounted as well as main idle circuit. tecumseh power company this engine meets 1995-1998 calif/us epa ph1 applicable emission regula-tions for ulge engines fuel regular unleaded oil sae 30 the following will be needed to locate parts for your engine. locating and reading engine model and specification engine model number locations model numbering system for tecumsehpower's full ... table 1. recommended engine oil tecumseh power company this engine meets 1995-2005 calif & us epa phi applicable emission regulations for si sore engines lv195ea 361540d 4tpxs.1951bb 195 04015aa0001 em 2083 engine model: spec: d.o.m.: 4 -cycle overhead valve engines technician's handbook-20 fo 32 fo 40 fo-20 co 20 fo-30 co-10 co 0 co 10 co 20 ...
Jul 3, 2013 - the Carburetor diagram tecumseh help you to defines all its parts and functions the Carburettor made by them. It proves the big help under. Tecumseh Exploded View parts lookup by model. Complete exploded views of all the major manufacturers. It is EASY and FREE Download 413 Tecumseh Engine PDF manuals. User manuals, Tecumseh Engine
Parts Manual Tecumseh Tc Cycle Engine Parts Breakdown For Use With General 210 Hole Digger Form Pm Version Pdf Free Download
Tecumseh Engine Parts. Browse a selection of carburetors, starters, oil filters, air filters, ignition coils, spark plugs and more for your Tecumseh equipped walk-behind lawn mower, snow blower, or outdoor power equipment. Our Part Finder makes it easy to find the parts you need at MTD Parts. Tecumseh Part Number 570682A. Primer Assembly.
Tecumseh OHV13-203203A Engine Parts List #1 Exploded View parts lookup by model. Complete exploded views of all the major manufacturers. It is EASY and FREE
Tecumseh Hm100 Parts Diagram. diagramweb.net - Select Tecumseh HMK - Tecumseh 4-Cycle Horizontal Engine Diagrams and order Genuine Tecumseh Engines: horizontal 4 -cycle engine Parts. Easy Ordering, Fast Shipping and Great Service!. diagramweb.net: Tecumseh Carburetor Fits Models HMP HM S HMP: Beauty. Add all three to List. These items are shipped.
BY TECUMSEH, IT WILL NOT BE MARKED. 1 1 1 1 1 1 2 1 2 1 1 1 1 1 1 1 1 1 1 1 4 1 1 1 1 1 1 Applicable Replacement Parts Diagram Carburetor Manufactured by Tecumseh (no markings) for use with Tecumseh TC300-3136 Engine on General 210 Hole Digger TECUMSEH TC300, FORM PM9109901, VERSION 1.0, AUTHORIZATION: DVR, PAGE: 9
Engine Parts List #1 Ref # Part Number Qty Description 301 631021 Inlet Needle, Seat & Clip Assy. 303 631828 Carburetor (Incl. 75 & 301) (Refer to Division 5, Section A, page 144 for breakdown) 304 610689A Magneto (Refer to Division 5, Section B, page 24 for breakdown) 306 590420 Rewind Starter (Refer to Division 5, Section C, page 25 for ...
Engine Parts List #1 diagram and repair parts lookup for Tecumseh HS40-55580K - Tecumseh Engine Order Status Customer Support 512-288-4355 My Account Login to your PartsTree.com to view your saved list of equipment.
runaway engine and cause it to operate at unsafe speeds. NEVER tamper with factory setting of engine governor.! WARNING F. Avoid Burns and Fire from Hot Surfaces The muffler and other engine parts become extremely hot during operation and remain hot after the engine has stopped. • To avoid severe burns on contact, STAY AWAY from hot areas of ...
Oct 26, 2012 · Tecumseh engine parts diagram. this Picture is showing the Tecumseh Engine Parts List may you need it for repair manual. you can download full list or pdf file here. above is engine Specifications there almost same with another tecumseh enggine. the specific is Small Engines type. this post may not discuss from first in another time we will ...
Whether you're doing some routine service work on your Tecumseh engine or replacing a faulty part, there are a few easy tips to remember to safely carry out your tasks. Understand the owner's manual before starting any work. Familiarize yourself with any diagrams and parts listings so you can confidently put everything back the right way.
Www Mymowerparts Com For Discount Tecumseh Engine Parts Call 606 678 9623 Or 606 561 4983 H60 75337k Manualzz
Tecumseh engine parts diagram download. Tecumseh has been one of the most prominent names in the small engine business for over a hundred years growing in the 1960s into the second largest manufacturer of small engines in north america. It is easy and free. Parts lookup directory find online illustrated parts lists ipls users manuals owners and ...
Tecumseh Vantage 35 Parts Diagram Manual 1985 Tecumseh Vantage Tvs90 3 5 Hp Vertical Small Engine Cam
PartsTree.com - Order Genuine Tecumseh Parts for the Tecumseh TV085XA-670127W - Tecumseh 2-Cycle Vertical Engine Engines: vertical 2-cycle engine. fedupd.cyanxiii.co 11/7/2021 22.08.2017 admin
Complete Found on Diagram: Engine Parts List #HM80RS1 . Carburetor $ I have a tecumseh hm80 on a snowblower, I completely rebuilt the carb, but it Doe's this carb have three adjustment screws being one for idle. Once you have identified the problem with the Tecumseh HM80 engine, you The diagram of every carburetor model has been listed on the.
ENGINE IDENTIFICATION Tecumseh engine model, specification, and serial numbers or (date of manufacture, DOM) are stamped into the blower housing or located on a decal on the engine in locations as illustrated (diag. 1 & 2). NOTE: On some LEV engines, a cover bezel must be removed to provide access to the identification decal (diag. 1).
Mercedes Benz Om352 Engine Service Parts Catalogue Manual Epc Pdf Download Heydownloads Manual Downloads
tecumseh 2 cycle engine diagram that you are looking for. It will unquestionably squander the time. However below, bearing in mind you visit this web page, it will be suitably totally simple to acquire as well as download guide tecumseh 2 cycle engine diagram It will not say yes many grow old as we tell before. You can complete it
Powermate Genset 5500 6875 Model Pm0525300 17 W Tecumseh 11hp Oil Leak Help Smokstak Antique Engine Community
Tecumseh 10 Hp Engine Parts Diagram 10 Hp Engine Parts Diagram 4 5 Hp Lauson Engine The Model 10 Page Parts Diagram For Engines H45d Hb45d Hr45d H55d Hb55d Hr55d Pdf Document
Tecumseh 36677 Lawn Garden Equipment Engine Throttle Control Kit Genuine Original Equipment Manufacturer Oem Part Patio Lawn Garden Amazon Com
0 Response to "41 tecumseh engine parts diagram download"
Post a Comment